จุดกำเนิดของ BRZ และ GT86 เริ่มต้นขึ้นเมื่อ Toyota ลองให้ทาง Subaru คิดค้นรถยนต์ขับเคลื่อนล้อหลังที่วางเครื่องยนต์สูบนอนแบบสี่กระบอกสูบหายใจเองโดยไม่พึ่งพาระบบอัดอากาศสำหรับการตอบสนองในรอบเครื่องต่ำไปจนถึงรอบสูงสุด ค่าย Subaru ซึ่งกำลังตกอยู่ในสถานการณ์ที่ไม่ค่อยดีเท่าใดนักตกลงรับโครงการพัฒนาเครื่องยนต์ดังกล่าว และแบ่งหน้าที่ความรับผิดชอบกันระหว่างสองบริษัท
...
ค่าย Toyota นั้น เข้ามารับผิดชอบด้านการออกแบบตัวรถกับระบบจ่ายเชื้อเพลิงและ Limited Slip เท่านั้น ส่วน Subaru รับผิดชอบการออกแบบเครื่องยนต์ เกียร์ ช่วงล่างและงานวิศวกรรมโครงสร้างหลักซึ่งรวมถึงการผลิตรถทั้งคันอย่างเป็นระบบ สำหรับตัวเลขแรงม้า 200 ตัว ของเครื่องยนต์สูบนอนขนาด 2.0 ลิตร รหัส FA20 ที่พัฒนาระบบจ่ายเชื้อเพลิงแบบไดเรคอินเจคชั่นโดยวิศวกรของ Toyota โดยนำระบบจ่ายเชื้อเพลิงมาผนวกเข้ากับเครื่องยนต์สูบนอนประสิทธิภาพสูงจากแบรนด์หมู่ดาว เครื่องยนต์รุ่นใหม่นี้วางตำแหน่งไว้ค่อนข้างต่ำเตี้ยติดพื้น โดยมีระดับความเตี้ยมากกว่าเครื่องของ Subaru Impreza ประมาณ 120 มิลลิเมตร ใช้วิธีง่ายๆ แค่เลื่อนเข้าไปติดกับผนังของห้องโดยสาร 240 มิลลิเมตร บนน้ำหนักตัวรถทั้งคันเพียงแค่ 1,240 กิโลกรัม เครื่องยนต์วางคร่อมเพลาหน้าและมีตัวเลขกระจายน้ำหนัก 53-47 (หน้า 53% หลัง 47%) ทำให้รถสปอร์ตคันนี้มีจุดศูนย์ถ่วงที่ต่ำเทียบเคียง Porsche Cayman บนตัวเลข 460 มิลลิเมตร
Subaru BRZ และแฝดผู้น้อง GT86 ของ Toyota เปิดผ้าคลุมในงานโตเกียวมอเตอร์โชว์เมื่อเดือนธันวาคมปี 2011 ตามติดด้วยการนำเข้ามาขายโดย TC Subaru และ Toyota Motor Thailand ในเดือนเมษายน 2012 หลังจากนั้น BRZ เวอร์ชั่นปรับโฉม Minor Change ก็ตามออกมาในช่วงปลายปี 2017 นี่คือรถสปอร์ตสองที่นั่งคันเล็กที่วางเครื่องสูบนอนของ Subaru รหัส FA-20 กับหัวฉีด D4S ที่วิศวกรของค่ายสามห่วงปรับระบบจ่ายเชื้อเพลิงให้เป็นแบบไดเรคอินเจคชั่น เพื่อรองรับมาตรฐานการปล่อย CO2 ระดับ EURO 5 สปอร์ตคาร์น้ำหนักเบา (1,202 kg รุ่นเกียร์ธรรมดา 1,240 kg รุ่นเกียร์อัตโนมัติ) คันนี้ มีเรี่ยวแรงประมาณ 200 แรงม้า
...
...
ระบบส่งกำลังของ BRZ คันทดสอบเป็นเกียร์ออโตเมติก 6 อัตราทด พร้อม Paddle Shift หลังพวงมาลัย ช่วงล่างของ Subaru ด้านหน้าแบบแมคเฟอร์สันสตรัท สปริง โช้คอัพและเหล็กกันโคลง ส่วนด้านหลังเป็นแบบปีกนกคู่ เจ้า BRZ ถูกออกแบบให้มีจุดศูนย์ถ่วงที่ต่ำมากที่สุดเท่าที่จะเป็นไปได้ (469 มิลลิเมตร) ใส่ล้ออัลลอยลายใหม่ที่สวยงามแบบ 10 ก้าน ขนาด 17 นิ้ว ยาง Michelin Primacy 4 ไซส์ 215/45/R17 ทั้งสี่ล้อ น้ำหนักตัวรวม 1,240 กิโลกรัม
...
ตำแหน่งเบาะคนขับของ Subaru BRZ ที่เตี้ยต่ำติดพื้นให้อารมณ์เหมือนกับการนั่งขัดตะหมาดในรถแม้วม่อนแจ่มวิ่งลงเนินเขาซึ่งเป็นรถลังไม้ติดล้อที่มุมทั้งสี่ด้านที่แสนจะสั่นสะเทือน นี่คือจักรกลสองประตูที่ถือกำเนิดเกิดขึ้นมาบนโลกใบนี้ด้วยความร่วมมือระหว่างสองค่ายผู้ผลิต Toyota และ Subaru มันคือแฝดผู้พี่ที่มี DNA เดียวกับ Toyota GT86 ในความเป็นจริงแล้ว Toyota รับหน้าที่ออกแบบแต่เพียงอย่างเดียวโดยมอบให้ Subaru รับงานวางโครงแชสซี เครื่องยนต์ เกียร์ ระบบขับเคลื่อนและระบบรองรับ ขั้นตอนในการพัฒนาร่วมกันของทั้งสองแบรนด์ ในช่วงแรกนั้น Subaru พยายามจะผลิต BRZ ให้ออกมาในแบบขับเคลื่อน 4 ล้อ แต่จากแผนแบบของ Toyota ที่ได้ลงมือดีไซน์ตัวรถเอาไว้ตั้งแต่แรก (Toyota FT Concept) ทำให้การวางระบบขับเคลื่อนทุกล้อลงใน BRZ และ GT86 กลายเป็นเรื่องที่ยุ่งยากสุดๆ สำหรับการเปลี่ยนระบบขับเคลื่อน
Toyota นั้นเป็นแบรนด์ที่ยกเลิกการผลิตรถสปอร์ตขับเคลื่อน 4 ล้อนานมากแล้วหลังจากยุคสุดท้ายของ Toyota Celica GT4 ST205 ประมาณปี 1994-1999 เป็นรถสปอร์ตจากแบรนด์สามห่วงที่ไม่ค่อยจะประสบความสำเร็จเท่าที่ควร สุดท้าย Subaru จึงต้องยอมทำตามแบบเดิมนั่นก็คือรถสปอร์ตขนาดเล็กเครื่องยนต์สูบนอนวางด้านหน้าและขับเคลื่อนด้วยล้อหลังซึ่งเป็นรถสปอร์ตที่ Toyota มีความถนัดมากกว่าการออกแบบโครงสร้างของสปอร์ตคูเป้ขับเคลื่อน 4 ล้อ
Subaru เคยประสบปัญหาหนักด้านการเงินในช่วงปี 2011-2012 แต่ค่ายหมู่ดาวก็ยังได้เงินทุนจากการเข้าร่วมมือเป็นพันธมิตรของ Toyota อีก 14% โครงการสร้างสปอร์ตคันเล็กของทั้งสองแบรนด์ (GT86-BRZ) เริ่มต้นขึ้นในปี 2009-2010 โดยมีการแบ่งหน้าที่รับผิดชอบกันคนละส่วน Toyota นั้นรับผิดชอบในด้านการออกแบบเส้นสายของตัวรถทั้งคัน ขณะที่งานวิศวกรรมโครงสร้าง เครื่องยนต์ ช่วงล่างและเกียร์นั้น Subaru จะรับผิดชอบในส่วนนี้ทั้งหมด นอกจากนั้นไม่ว่าจะเป็น Toyota GT86 หรือ Subaru BRZ จะผลิตที่โรงงานของ Subaru แห่งเดียว ดังนั้นจะนับว่า GT86 เป็นผลผลิตของค่ายหมู่ดาวก็ไม่แปลก งานดีไซน์ที่ค่อนข้างลงตัวทำให้ Subaru มีงานล้นมือในการนำเอาเครื่องยนต์สูบนอนขนาด 2.0 ลิตร พร้อมชุดส่งกำลังมาวางลงในห้องเครื่องยนต์ให้ต่ำมากที่สุดเท่าที่จะทำได้
ขุมกำลังของ BRZ วางเครื่องยนต์เบนซิน 4 สูบนอน Boxer ขนาด 2.0 ลิตร 1,998 ซีซี ความกว้างกระบอกสูบกับระยะช่วงชักออกมาในแบบ Square ที่ 86.0 มิลลิเมตร x 86.0 มิลลิเมตร อัตราส่วนกำลังอัด 12.5 : 1 กำลังสูงสุด 200 แรงม้า ที่ 7,000 รอบต่อนาที แรงบิดสูงสุด 205 นิวตันเมตร ที่ 6,400 – 6,600 รอบต่อนาที ระบบส่งกำลังติดตั้งเกียร์อัตโนมัติ 6 สปีด ขับเคลื่อนล้อหลัง รุ่น 2.0 6AT คันทดสอบ ปล่อย CO2 ที่ 164 กรัมต่อระยะทาง 1 กิโลเมตร
การร่นเครื่องยนต์ไปจนชิดกับผนังใต้กระจกบังลมบานหน้าแบบ front mid engine rear wheel drive ส่งผลไปถึงการควบคุมโดยตรง อัตราส่วนการกระจายน้ำหนักออกแนวท้ายเบากว่าหน้านิดหน่อย การวาง center of gravity ที่สมบูรณ์แบบของ GT86 และ BRZ มอบความบันเทิงเริงรมย์ให้กับนักขับทั้งใหม่และเก่า ตัวเลขย่านกำลังที่ 197 แรงม้าไม่ได้แรงสุดฉุดไม่อยู่แบบสปอร์ตคาร์เครื่องโต แต่การตอบสนองที่ดีของเครื่องยนต์หายใจเองโดยไม่มีระบบอัดอากาศคอยช่วยเหลือได้สร้างมาตรฐานใหม่ของรถคูเป้ที่ใช้ชื่อรุ่นว่า BRZ ให้กลายเป็นรถสปอร์ตหนูน้อยที่ขับได้สนุกคันหนึ่งในวงการคูเป้ไซส์เล็ก
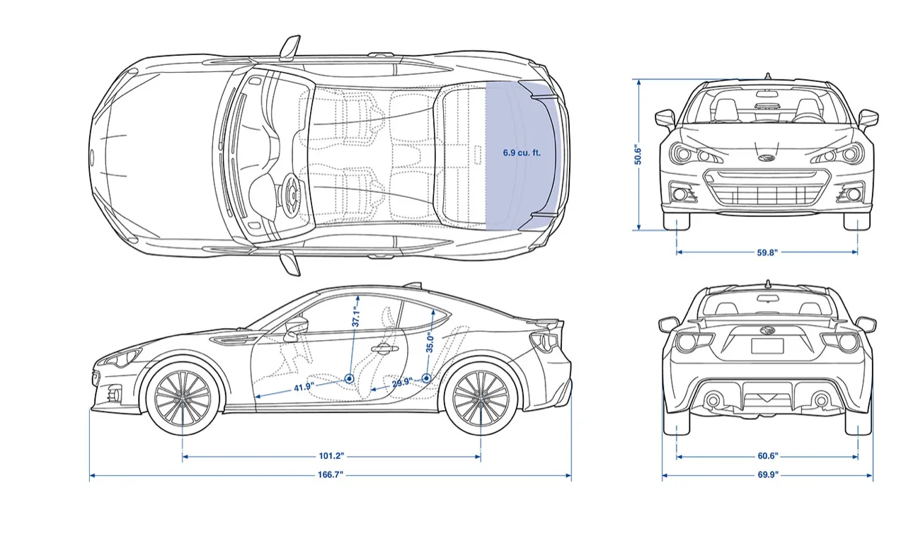
รูปทรงที่มีความสมมาตรจากการออกแบบในรุ่นปรับโฉม BRZ มีหลังคาที่สั้นและค่อนข้างลาดเอียงแบบคูเป้ กับแนวด้านข้างตัวถังที่ลื่นไหล รวมถึงการเปลี่ยนแปลงไฟหน้าไฟท้าย กันชนหน้าและล้ออัลลอยลายใหม่ ทำให้มันเป็นรถสปอร์ตขนาดเล็กที่มีความดุดันเพิ่มขึ้นมาอีกนิด มิติตัวถัง มีระยะฐานล้อ 2,570 มิลลิเมตร ความกว้างล้อหน้า 1,520 มิลลิเมตร ความกว้างล้อหลัง 1,540 มิลลิเมตร ความยาวตัวรถ 4,240 มิลลิเมตร กว้าง 1,775 มิลลิเมตร และสูงแค่ 1,285 มิลลิเมตร ระยะห่างจากพื้นถึงใต้ท้องรถ 130 มิลลิเมตร น้ำหนักในรุ่นเกียร์อัตโนมัติ 1,240 กิโลกรัม ความจุถังเชื้อเพลิง 50 ลิตร
Subaru BRZ และ Toyota GT86 ถึงแม้รถทั้งสองคันจะเหมือนกันแต่มีปรัชญาของความแตกต่างมาแบ่งแยกออกจากกันและกันอย่างสิ้นเชิง นี่คือรถที่สามารถควบคุมทิศทางขณะกำลังเร่งอย่างเต็มที่ หรือเบรกแบบเต็มกำลังได้ดีอีกคันหนึ่งจากค่าย Subaru นอกเหนือไปจากซีดานตัวขับสี่สุดฮิตอย่าง WRX-STi ค่าความยืดหยุ่นของสปริงที่ด้านหน้าของ GT86 จะอ่อนกว่าด้านหลังเล็กน้อย ส่วนบูชแคมเบอร์ของ BRZ และ GT86 จะเหมือนกันทั้งหมด สำหรับ BRZ นั้น ไม่ใช่รถที่เร็วพอที่จะเร่งความเร็วจาก 0-100 กิโลเมตรในระดับ 3 วินาทีปลายๆ ได้เหมือนรถซุปเปอร์คาร์ที่มีเครื่องยนต์โตกว่า และไม่ได้มีรูปลักษณ์ที่แบนและกว้างเหมือนรถสปอร์ตจากอิตาลี แต่การบังคับควบคุมที่ว่องไวสุดๆ โดยเฉพาะการตอบสนองของพวงมาลัยและช่วงล่างทำให้มันเป็นรถสปอร์ตที่คนทุกเพศทุกวัยสามารถสนุกกับการขับขี่ได้อย่างง่ายดาย เป็นรถยนต์สองประตูที่ใช้งานได้ทุกวันและมีราคาไม่แพงจนเกินไป ทั้งยังเปิดโอกาสให้คนขับได้ใช้ฝีมือในการควบคุมอย่างเต็มที่ โดยมีระบบช่วยทรงตัวรองรับในระดับที่ไม่มากจนเกินไปนัก เปิดโอกาสให้นักขับที่มีฝีมือได้แสดงศักยภาพในการควบคุมอย่างเต็มที่ การทำ BRZ ให้ออกมาในลักษณะดังกล่าว ช่วยทำให้อรรถรสที่ดีของชาติพันธ์ุสปอร์ตคาร์ขนาดเล็กยังคงอยู่แบบครบถ้วนโดยเฉพาะอารมณ์ของการขับขี่ควบคุมและการตอบสนอง
ขุมกำลังของ BRZ รุ่นปรับโฉมไมเนอร์เชนจ์ 2019 ยังคงไม่มีการเปลี่ยนแปลงใดๆ ทั้งสิ้น นี่คือเครื่องยนต์สูบนอนยันชักข้างขนาดเล็ก เป็นเครื่องยนต์ของ Subaru โดยใช้ระบบจ่ายเชื้อเพลิงแบบไดเรคอินเจคชั่นที่คิดค้นโดย Toyota เพื่อต่อเชื่อมระบบเชื้อเพลิงแบบใหม่ D4S ให้เข้ากับเครื่อง Boxer เครื่องยนต์รุ่นใหม่นี้วางตำแหน่งไว้ค่อนข้างต่ำเตี้ยต่ำเกือบจะติดพื้น ระบบเกียร์แบบทวินคลัตช์หรือเกียร์ออโตแบบใช้คลัตช์ 2 ชุดที่มีน้ำหนักมากและมีต้นทุนที่สูงลิบถูกตัดออกไป แล้วหันมาคบหากับเกียร์ออโตแบบทอร์คคอนเวอร์เตอร์ 6 สปีดพร้อมแป้นเปลี่ยนเกียร์หลังพวงมาลัย สำหรับคอซิ่งที่ชอบเกียร์ธรรมดาก็ยังมีรุ่นเกียร์แมนนวล 6 สปีดไว้ให้สับเล่นเพื่อความมันในอารมณ์แบบสปอร์ตคาร์ยุคเก่า
รถต้นแบบในโครงการ FT86 ซึ่งต่อมากลายเป็นสปอร์ตคาร์ GT86 / BRZ ถูกทดสอบและพัฒนาขึ้นเพื่อการใช้งานในชีวิตประจำวันได้ดีเทียบเท่าหรือเหนือกว่ารถคู่แข่ง เจ้า Subaru BRZ และ Toyota GT86 มีความเตี้ยกว่า VW Scirocco ประมาณ 144 มิลลิเมตร สั้นกว่า 96 มิลลิเมตร Duncan McMath หัวหน้าโครงการต้องการออกแบบให้เบาะหลังของมันสามารถรองรับผู้โดยสารได้ดีกว่า Audi TT และหากพับเบาะหลังลงจะใส่ถุง Golf ได้ถึงสองใบ หรือหมวกกันน็อกกับยางอีกสี่เส้นสำหรับลูกค้าที่ชอบนำรถไปขับเล่นในสนามแข่ง แต่สุดท้ายเบาะหลังก็ยังคงคับแคบและใช้งานได้แค่วางสัมภาระพวกกระเป๋าใบเล็กๆ เท่านั้น กลุ่มเป้าหมายที่ค่อนข้างกว้างของรถสปอร์ตรุ่นนี้ซึ่งมีทั้งแม่บ้านและวัยรุ่น ทำให้การพัฒนาตัวรถเต็มไปด้วยความเข้มข้น ทาง Toyota และ Subaru เองก็เล็งเห็นถึงกำไรจึงไม่อาจทำให้โครงการ GT86 / BRZ ออกมาในแบบที่ใกล้เคียงกับรถแข่งมากจนเกินไป และพัฒนาออกมาโดยยึดถือแนวทางที่เน้นการขับขี่ควบคุมที่ดีเป็นอันดับแรก
การนำเอาเครื่องยนต์สูบนอนมาวางลงในห้องเครื่องยนต์ โดยกำหนดให้การวางเครื่องต้องต่ำมากที่สุดเท่าที่จะเป็นไปได้ จุดศูนย์ถ่วงที่ต่ำจะส่งผลในการควบคุมรถที่สามารถตอบสนองต่อการเปลี่ยนทิศทางหรือการหักเลี้ยวได้อย่างรวดเร็ว เครื่องยนต์สูบนอนมีความสูงน้อยกว่าเครื่องยนต์สี่สูบแบบปกติถึง 110 มิลลิเมตร เครื่อง Boxer มีขนาดที่กะทัดรัด โดยมีความเตี้ยและแบนมากกว่าเครื่องสูบเรียง และทำให้สามารถกระจายน้ำหนักบนตัวเลข 53/47 ได้ตามต้องการ แม้ว่าชุดส่งกำลังจะอยู่ด้านหน้าต่อท้ายเครื่องยนต์ Duncan McMath หัวหน้าโครงการพัฒนา FT86 Concept ให้ความเห็นว่า Porsche Boxster และ Mazda MX-5 NC คือแนวทางในการเทียบเคียงสมรรถนะของการขับขี่ รถ Toyota 86 และ BRZ จะต้องปราดเปรียวว่องไว ขับง่าย เกาะถนน และสามารถลัดเลาะไปตามเส้นทางที่อุดมไปด้วยทางโค้งได้ดี เป้าประสงค์ของ Mr. Akio Toyoda ยังคงมุ่งเน้นไปที่การขับแบบดริฟต์ ซึ่งการกระจายน้ำหนักในอัตราส่วนที่มีความสมมาตร ส่งผลให้ BRZ และ GT86 เป็นรถสปอร์ตขนาดเบาที่มีเสถียรภาพ ระดับของการยึดเกาะที่ไม่มากจนเกินไปยังตรงตาม Concept ของการพัฒนา เพื่อทำให้มันกลายเป็นรถที่ควบคุมได้อย่างง่ายดาย
ล้ออัลลอยขนาดไม่ใหญ่โตมากจนเกินไปยังมีความเหมาะสมกับแรงบิด ล้อลายสวยขอบ 17 นิ้ว รัดเอาไว้ด้วยยาง Michelin รุ่น primacy 4 ขนาด 215/45R17 เป็นยางบ้านๆ ติดรถมาให้จากโรงงานแทนที่จะเป็น Michelin pilot sport แต่เป็นรุ่น primacy แบบใหม่ที่ใช้กับรถบ้านทั่วไป ยางไม่ได้โดดเด่นในด้านของกริ้บแบบสปอร์ต แต่เหตุผลที่ Subaru แจ้งกับสื่อมวลชนก็รับฟังได้ เนื่องจากไม่ต้องการให้รถยึดเกาะมากจนเกินไปเมื่อใช้ยางคุณภาพสูง โดยมุ่งไปที่การควบคุมที่นักขับทุกคนสามารถขับได้อย่างสบาย ไม่ต้องเป็นพวกสุดยอดฝีมือหรือนักขับมืออาชีพ
8 วันคือระยะเวลาในการดับความคันกับ Subaru BRZ รุ่นปรับโฉม มันให้ความรู้สึกถึงเลือดเนื้อเชื้อไขของรถยนต์จาก Subaru มากกว่าความเป็น Toyota ถึงแม้ว่า GT86 และ BRZ จะเหมือนกันแทบทุกอย่างและแตกต่างกันแค่ตราสัญลักษณ์กับค่าความแข็งของช่วงล่างเท่านั้น อารมณ์และความรู้สึกหลังพวงมาลัยกำลังบอกกับผมว่านี่คือ Subaru อีกคันที่ขับได้มันโดยไม่จำเป็นจะต้องแรงระเบิดระเบ้อ กดปุ่มสตาร์ตเครื่องยนต์ เครื่องสูบนอนสตาร์ตติดง่ายและมีซุ่มเสียงในรอบเดินเบาที่คุ้นเคยราวกับกำลังขับ Impreza ท่านั่งที่ต่ำเตี้ยนั่งแล้วจมลงไปบนเบาะเหมือนกับนั่งอยู่กลางถนนมอบความรู้สึกเหมือนถูกห่อหุ้มคล้ายการนั่งขับในรถแข่ง

พวงมาลัยแบบใหม่ในรุ่นไมเนอร์เชนจ์ของ BRZ ปรับได้ 4 ทิศทาง มาตรวัดขนาดเล็กมีการเพิ่มเติมจอภาพมาตรวัด MID multi information display สำหรับการแจ้งเตือนข้อมูลที่หลากหลายมากยิ่งขึ้น อุโมงค์เกียร์ขนาดใหญ่ทำให้ห้องโดยสารถูกแบ่งออกเป็นสองส่วน ถึงแม้ว่าห้องโดยสารจะเล็กแต่ไม่ได้มากมายอะไรจนทำให้รู้สึกอึดอัดเหมือน MX-5 ND ส่วนเบาะหลังมีไว้วางของสถานเดียวเท่านั้นไม่เหมาะกับการนั่งโดยสารเนื่องจากความคับแคบ เมื่อลองใช้งานในเมืองคุณจะพบกับความรู้สึกที่ทั้งเบาและคล่องตัวของเจ้า BRZ การพุ่งออกตัวจากสัญญาณไฟจราจรเมื่อจอดรอไฟเขียวอยู่หน้าสุดและไม่มีมอเตอร์ไซค์มาจอดอยู่ข้างหน้าคือการตอบสนองที่ดีเมื่อเอามันมาขับในเมือง ขนาดที่เล็กและสั้นทำให้พวกขามุดไปได้เร็วขึ้นถ้ามีช่องว่างมากพอ
ระยะโอเวอร์แฮงก์หน้าสั้นจู๋ ซุ้มล้อบวมอวบออกมาด้านข้างจากการออกแบบของพี่โตยังช่วยให้นักเลงรถบางคนนำล้อขอบ 19 นิ้วมายัดใส่ได้อย่างไม่ยากนัก แต่ล้อ 17 เดิมๆ ก็พอรับงานหนักงานเบาได้โดยไม่สร้างภาระกรรมในเรื่องของน้ำหนักใต้สปริง ช่วงล่างที่เซตมาให้ทำงานไวส่งผลให้ต้องระวังเมื่อขับในย่านความเร็วสูงแล้วต้องการเปลี่ยนทิศทาง เครื่องสูบนอนที่มีความสูงของตัวเครื่องไม่มากเท่ากับเครื่องสูบเรียงทำให้ฝากระโปรงของเจ้า BRZ ลาดต่ำมากกว่าปกติ เบาะคนขับปรับความสูงต่ำได้ครอบคลุมและไม่ต้องใช้เวลาหาท่านั่งที่เหมาะสมกับตัวคุณให้มากเรื่องมากราว แกนพวงมาลัยที่วางอยู่ในตำแหน่งที่ถูกต้องรวมถึงแป้นคันเร่ง เบรกและที่พักเท้าซ้ายช่วยอำนวยการขับเจ้า BRZ ให้มีความสมบูรณ์แบบมากยิ่งขึ้นเมื่อพามันทะยานออกทางไกลบนไฮเวย์ข้ามจังหวัด
โหมด Sport เหมาะกับการขับในสนามแข่งมากกว่า ส่วนโหมดการขับเคลื่อนแบบปกติช่วยลดอัตราสิ้นเปลืองเชื้อเพลิงได้พอสมควรถ้ารู้จักใช้คันเร่ง เมื่ออยากจะมันก็แค่กดปุ่ม Sport ข้างคันเกียร์ออโต คันเร่งและเกียร์จะตอบสนองอย่างโหดจนทำให้รู้สึกเสียวสยองในบางจังหวะจะโคนที่ใส่มาหนักๆ แค่โหมดปกติสำหรับการใช้งานในชีวิตประจำวันก็มากเกินพอ และถ้าไม่ใช่มือชั้นเซียนก็ขอแนะนำให้เปิดระบบควบคุมการทรงตัวเอาไว้จะช่วยทำให้ปลอดภัยมากกว่าปลดมันออก เสียงท่อของเจ้า BRZ นั้นก็ไม่ได้แตกต่างไปจากลูกพี่ลูกน้องอย่าง GT86 แต่อย่างใด เสียงสูดอากาศที่ดังมาจากท่อไอดี เสียงท่อระบายท้ายในย่าน 3,500 รอบไปจนถึง 5,500 รอบ ดังสนั่นสาแก่ใจพวกนักเลงทางเรียบและพวก Midnight Racing อย่างที่สุด เสียงเครื่องยนต์และท่อระบายท้ายในรอบสูงๆ ผสมปนเปกันไปหมดโดยยังคงประสิทธิภาพอันโดดเด่นในด้านการตอบสนองของเครื่องยนต์ที่ไม่มีเทอร์โบเอาไว้อย่างครบถ้วนกระบวนความ คันเร่งไวดันเร็วเร่งแซงใช้ได้แต่ไม่ได้มีกำลังมากจนกระชากพรวดๆ เหมือนพวกสปอร์ตคาร์เครื่องโต อัตราสิ้นเปลืองในและนอกเมืองของ Subaru BRZ ทำได้ที่ 10.5 กิโลเมตรต่อลิตร เป็นตัวเลขปกติไม่ว่าจะขับเร็วหรือขับช้ามันก็จะรับประทานอยู่ประมาณนี้ละครับ
เสียงเครื่องสูบนอนเมื่อผมกระแทกคันเร่งดังสนั่นเมื่อรอบเครื่องกวาดผ่านย่าน 5,000 รอบต่อนาที ด้วยความที่เป็นเครื่องยนต์บ้ารอบไม่มีเทอร์โบ ซึ่งถูกออกแบบมาให้มีแรงบิดต่อเนื่องในย่านรอบเครื่องยนต์สูงๆ เพื่อความเร้าใจนั้น เมื่อต้องประจันหน้ากับ Honda Civic 1.5 Turbo ที่แต่งซิ่งแบบท้ารบก็แค่กดปุ่ม Sport เจ้า BRZ จะทำทั้งหมดไม่ว่าจะเป็นการตอบสนองของการเร่งความเร็ว จังหวะของการเปลี่ยนเกียร์ในโหมดออโตที่สั้นกระชับมากยิ่งขึ้น คุณจะต้องระวังการใช้คันเร่งให้ดีเมื่อฝนตกหรือขับบนผิวถนนที่ลื่นไถลได้ง่าย ในโหมด Sport มันจะแปลงร่างจากสปอร์ตหนูน้อยมาเป็นตัวโหดที่ดุดิบแบบเน้นเอามัน คุณต้องเลี้ยงรอบเครื่องยนต์ไม่ให้หล่นลงมาต่ำกว่า 5,000 รอบ สำหรับการเร่งแซงรถช้า บางช่วงบางตอนที่กดกันสุดๆ รอบเครื่องยนต์ทะยานไปจนเกือบจะถึง 7,000 รอบต่อนาทีพร้อมกับแรงบิดที่ส่งให้รถพุ่งลิ่วๆ ไปข้างหน้าอย่างว่อง
เมื่อพบกับลานกว้างที่มากพอจะดริฟต์กวาดท้ายเล่นหากไม่กลัวเปลืองค่ายาง เจ้า BRZ ที่ถูกกระหน่ำลงบนคันเร่ง จะระเบิดพลังงานในแบบที่ทำให้คุณรู้สึกสนุกและหวดเสียวไปพร้อมๆ กัน ความเตี้ยของมันมีตัวเลขสูสีกับ BMW M2 สร้างความรู้สึกแปลกๆ เมื่อปรับเบาะจนลงไปติดกับพื้นรถ วิศวกรหัวหน้าโครงการของ Subaru ต้องการออกแบบให้รถคันนี้ให้อารมณ์ความเป็นสปอร์ตคาร์มากที่สุด เบาะหลังของมันจึงไม่สามารถรองรับผู้โดยสารได้ แม้แต่เด็กตัวเล็กยังนั่งลำบากและหากพับเบาะหลังลง คุณจะใส่ถุง Golf ได้ถึงสองใบแต่ก็ต้องตั้งใจยัดเข้าไปให้ดีๆ หรือจะใส่หมวกกันน็อกกับยางอีกสี่เส้นสำหรับลูกค้าที่ชอบนำรถไปขับเล่นในสนามแข่ง กลุ่มเป้าหมายที่ค่อนข้างกว้างของรถสปอร์ตรุ่นนี้ซึ่งมีทั้งแม่บ้านขาแรงที่ชอบขับรถและกลุ่มวัยรุ่นที่ชอบรถซิ่ง ทำให้การพัฒนาตัวรถเต็มไปด้วยความเข้มข้น ทั้ง Toyota และ Subaru เองก็เล็งเห็นถึงกำไรที่ไม่มากเท่ารถแบบอื่น จึงไม่ทำให้สไตล์การขับของ BRZ และ GT86 ออกมาในแบบที่ใกล้เคียงกับรถแข่งมากจนเกินไป ทั้งสองแบรนด์ยังยึดถือแนวทางหลักหรือแก่นแท้ของรถสปอร์ตที่เน้นการขับขี่ควบคุมที่ดีเยี่ยมเป็นอันดับแรก และสามารถขับทางไกลได้ทั้งวันโดยไม่ทำให้แผ่นหลังของคุณเป็นอัมพาต
BRZ เป็นรถที่มีเครื่องยนต์ออกแนวบ้ารอบ แต่มันก็ไม่ได้มีกำลังมากมายอะไรจนสามารถขึ้นไปเทียบชั้นกับรถสปอร์ตที่ติดตั้งเทอร์โบได้ ผมต้องขับแบบลากรอบและใช้แค่เกียร์ 3-4 เมื่อต้องการจะไปให้เร็วขึ้น การทำงานของเกียร์ออโต 6 สปีดนั้นสุดยอดโดย เฉพาะเมื่อคุณต้องการรีดพลังผ่าน Sport Mode แป้นเปลี่ยนเกียร์หลังพวงมาลัย หรือ Paddle Shift ใช้งานได้จริงแม้จะคาอยู่ในโหมดปกติคุณก็สามารถชิฟเกียร์ได้ตามใจชอบ Sport Mode มีการเบิ้ลรอบเครื่องให้ขณะถอนเท้าออกจากแป้นคันเร่ง ซึ่งถือเป็นการเตรียมพร้อมของตัวรถเพื่อที่จะเร่งความเร็วอีกครั้ง การยกเท้าออกมาจากแป้นคันเร่งโดยรอบเครื่องยังไม่หล่นลงมามากพร้อมเสียงครางแผดสนั่นขณะที่รอบเครื่องตวัดขึ้นเมื่อถูก ECU สั่งงานให้ลดอัตราทดคืองานวิศวกรรมยานยนต์ที่ทำออกมาเพื่อเอาใจพวกบ้าขับรถอย่างแท้จริง
ส่วนท้ายที่ว่องไวทำให้ต้องคอยเตือนตัวเองไม่ทำอะไรโง่ๆ ในพื้นที่คับแคบอย่างเด็ดขาด คันเร่งในโหมดสปอร์ตต้องใช้ความระมัดระวังเพราะมันจะเอาแต่ล้นท่าเดียว เมื่อจะเลี้ยวกลับรถบนผิวถนนที่เปียกชื้น หากลงคันเร่งหนักข้อเกินไปในขณะที่กำลังเลี้ยวยูเทิร์นมีหวังได้หมุนติ้วไปฟาดกับขอบฟุตบาทหรือเสาไฟฟ้า และถือเป็นเรื่องน่าอายสำหรับขาซิ่งที่กำลังนั่งอยู่ในรถสปอร์ตสุดเท่เมื่อคุณเกิดพลาดท่าเสียทีแบบเอาไม่อยู่ อาการรอรอบไม่เคยปรากฏในรถที่มีเครื่องยนต์แบบหายใจเองอย่าง BRZ สร้างความพึงพอใจให้กับเจ้าของทุกคนที่ได้ครอบครอง พวงมาลัยไฟฟ้าปรับเซตอัตราทดอย่างแม่นแต่ก็แอบไวโคตรๆ น้ำหนักในย่านความเร็วสูงยังคงเป็นรองพวงมาลัยไฟฟ้าของ BMW 118i M-Sport น้ำหนักพวงมาลัยของ BRZ ค่อนข้างคงที่ในย่านความเร็วต่ำมีส่วนช่วยทำให้คุณขับเจ้าคูเป้คันนี้ได้ง่ายขึ้น พวงมาลัยไฟฟ้าสื่อสารกับผิวถนนได้ดี ยาง primacy 4 หรือยางคนหอนคืนโหดมีเสียงดังเหมือนเดิมเนื่องจากการเก็บเสียงที่ย่ำแย่ของ BRZ อย่าหวังว่ามันจะเป็นรถที่มีห้องโดยสารเงียบกริบราวกับ Mercedes-Benz new C-Coupe เนื่องจากราคาที่ต่างกันลิบ การเก็บเสียงของรถญี่ปุ่น ถ้าไม่ใช่ Lexus ยังไงก็ยังเป็นรองรถยุโรปอยู่วันยังค่ำ
ม้า 200 ตัว บนน้ำหนักรวม 1.2 ตัน ใน BRZ รุ่นเกียร์อัตโนมัติ มีความเหมาะสมและให้สัมผัสที่ดีในการควบคุม ความมีชีวิตชีวา กระตือรือร้นของเครื่องสูบนอนและความแม่นยำของพวงมาลัยกับช่วงล่างแข็งๆ ที่แสนจะไว มอบความสนุกบนทางขึ้น-ลงเนินเขา ระบบรองรับที่แข็งขืนของ Subaru BRZ เกิดขึ้นจากการออกแบบให้จุดศูนย์ถ่วงต่ำเตี้ย ทำให้การเลี้ยวเร็วๆ แทบจะไร้อาการโคลงตัว แม้จะเบรกแบบเต็มกำลังก็ยังไม่มีอาการเป๋ปัดดีดดิ้นเหมือนพวกตัวแรงที่วางระบบขับเคลื่อนด้วยล้อคู่หน้า พวงมาลัยสื่อสารได้ดี ไวแต่แม่นยำเที่ยงตรงและมีน้ำหนักที่เหมาะสม การขับทดสอบวันสุดท้ายแถบห้วยกระพร้อย อ่างเก็บน้ำที่แสนจะสงบและงดงามในโครงการพระราชดำริของในหลวง รัชกาลที่ 9 จบลงอย่างมีความสุขในช่วงโพล้เพล้
BRZ คือรถสปอร์ตที่เข้ามาสานต่อประวัติศาสตร์หน้าใหม่ของ Subaru แม้จะขายได้ไม่เยอะเท่ารถอเนกประสงค์ของแบรนด์หมู่ดาว แต่ชื่อเสียงในด้านความสนุกและการแก้อาการท้ายกวาดที่ช่วยสอนให้คุณขับรถได้เก่งขึ้นคือความลงตัวของรูปทรง น้ำหนักและการควบคุมที่พอดิบพอดี BRZ เป็นรถที่เข้าถึงได้ง่ายและเอื้อต่อการขับขี่ คุณสามารถกวาดท้ายรถได้ทุกเวลาเท่าที่ต้องการแต่ต้องใช้รอบสูงเพื่อปั่นพลังลงไปยังล้อหลัง ล้อและยางที่ไม่ใหญ่โตจนมากเกินไปส่งผลให้พวงมาลัยตอบสนองได้ดี เป็นรถสปอร์ตที่คุณไม่มีวันหาได้พบในรถสปอร์ตคู่แข่งจากยุโรปโดยเฉพาะตำแหน่งของวิทยุติดรถ! เป็นรถที่ทำให้รู้ว่ารถสปอร์ตคันเล็กเครื่องยนต์วางด้านหน้า-ขับเคลื่อนล้อหลังนั้นมีดีได้อย่างไร มันคือรถยนต์ที่เปิดโอกาสให้คนขับได้แสดงฝีมือมากกว่าที่จะใช้ระบบควบคุมการทรงตัวมาคอยชี้นำ เป็นรถสปอร์ตคูเป้สองประตูอีกรุ่นที่เมื่อได้ขับแล้วยากที่จะลืมจนต้องขอกลับมาขับอีกครั้งละครับ.
Subaru BRZ 6 AT Minor change 2017-2018 นำเข้าโดย TC Subaru ราคา 2,320,000 บาท
อุปกรณ์ภายนอก
ไฟหน้า Projector Lens แบบ LED
ไฟ LED Daytime Running Lights
ไฟตัดหมอกคู่หน้า แบบ LED
ไฟท้ายแบบ LED
เสาอากาศแบบครีบฉลาม Shark Fin
ล้ออัลลอยแบบ 10 ก้าน ขนาด 17 นิ้ว
ท่อไอเสียคู่
ประตูแบบ Frameless Door
กระจกมองข้าง ปรับและพับด้วยไฟฟ้า
อุปกรณ์ภายใน
เบาะนั่งหุ้มด้วยหนัง สลับด้วยหนังกลับ Alcantara (รุ่น 2.0 6AT)
ระบบทำความอุ่นเบาะนั่งคู่หน้า Heated Seat
เบาะนั่งด้านหลังพับได้
พวงมาลัยหุ้มด้วยหนัง เดินตะเข็บด้ายสีแดง
เบรกมือหุ้มด้วยหนัง เดินตะเข็บด้ายสีแดง
ระบบเปลี่ยนเกียร์ที่พวงมาลัย Paddle Shift
ปุ่มควบคุมเครื่องเสียงบนพวงมาลัย
ระบบกุญแจ Smart Keyless Entry
ปุ่มสตาร์ตเครื่องยนต์ Push Start Button
ระบบควบคุมความเร็วอัตโนมัติ Cruise Control
ระบบปรับอากาศแบบอัตโนมัติ แยกซ้าย-ขวา Dual Zone
ภายในห้องโดยสารตกแต่งด้วยวัสดุสีเงิน Metallic / ลายคาร์บอน
วัสดุหุ้มด้วยหนัง ตกแต่งด้วยตะเข็บด้ายสีแดง
แป้นคันเร่ง / เบรก / คลัตซ์ / ที่พักเท้า แบบสปอร์ต
ระบบเครื่องเสียงแบบ 2DIN วิทยุ AM/FM CD MP3
ชุดมาตรวัดเรืองแสงแบบ Analog
หน้าจอแสดงข้อมูลตัวรถ Multi-Information Display
แสดงข้อมูล เครื่องยนต์ / G-Monitor / อุณหภูมิ / นาฬิกาจับเวลา
ระบบความปลอดภัย
ระบบเบรกป้องกันล้อล็อก ABS
ระบบกระจายแรงเบรก EBD
ระบบเสริมแรงเบรก BA
ระบบควบคุมการทรงตัว VSC
ระบบป้องกันการลื่นไถล TRC
ระบบช่วยออกตัวบนทางลาดชัน HSA
เฟืองท้ายแบบ TORSEN LSD (Limited Slip Differential)
ถุงลมนิรภัย 7 ตำแหน่ง (คู่หน้า-ด้านข้าง-ม่านนิรภัย-หัวเข่า)
สีตัวถัง
สีดำ Crystal Black Silica
สีขาว Crystal White Pearl
สีเทาดำ Dark Grey Metallic
สีเงิน Ice Silver Metallic
สีน้ำเงินเข้ม Lapis Blue Pearl
สีน้ำเงิน WR Blue Pearl
สีแดง Pure Red
SUBARU BRZ 6AT Specifications
engine manufacturer.......................Subaru
body type........................................2 seater fixed-head coupé
number of doors..............................2
designer..........................................Toyota
engine code....................................Subaru FA20
cylinders.........................................Flat 4
capacity..........................................2 litre1998cc (121.925cu in)
bore×stroke....................................86 × 86mm 3.39 × 3.39inbore/stroke ratio1
valve gear.......................................DOHC 4 valves per cylinder 16 Total valves
maximum power output................197PS (200bhp) (146.9kW) at 7,000rpm
specific output................................98.6bhp/litre 1.62bhp/cu in
maximum torque............................205 Nm(151ft·lb) (20.9kgm) at 6,600rpm
specific torque................................102.6Nm/litre
sump...............................................Wet sumped
compression ratio............................12.5:1
fuel system.....................................direct petrol injection D4S By Toyota
bmep (brake mean effective pressure)1,289.3kPa(187psi)
engine coolant................................Water
cylinder volume.............................499.5
aspiration........................................Normal
compressor......................................N/A
intercooler.......................................None
catalytic converter...........................Y
power-to-weight ratio......................157.6bhp/ton
engine position...............................front
longitudinaldrive wheels................rear wheel drive
steering...........................................rack & pinion EPAS
turns lock-to-lock...........................?
turning circle
front suspension.............................macpherson strut
rear suspension...............................double wishbone
wheel size front..............................7J x 17
wheel size rear................................7J x 17
tyres front........................................215/45 R 17 87W Michelin primacy 4
tyres rear..........................................215/45 R 17 87W Michelin primacy 4
brakes f/r....................................... Disc Break ABS
gearbox...........................................6 speed automatic with paddle shift
top gear ratio...................................0.58
final drive ratio...............................4.10
wheelbase.......................................2,570 mm
track (front)....................................1,520 mm
track (rear).....................................1,540 mm
length.............................................4,240 mm
width..............................................1,775 mm
height.............................................1,285 mm
ground clearance.............................130 mm
length:wheelbase ratio....................1.65
kerb weight.....................................1,240 kg 2,756 lb
weight distribution..........................?
fuel tank capacity............................50 litres11 UK Ga l13.2 US Gal
อาคม รวมสุวรรณ
E-Mail chang.arcom@thairath.co.th
Facebook https://www.facebook.com/chang.arcom
https://www.facebook.com/ARCOM-CHANG-Thairath-Online-525369247505358/