ข่าวล่ามาเร็ว BMW Thailand ประกาศราคาใหม่ของรถยนต์พลังงานไฟฟ้า 100% BMW i3s เหลือแค่ 2,230,000 บาท ลด 1.5 ล้านบาท พร้อมแพ็กเกจ BSI Standard ประกอบด้วยการบริการบำรุงรักษา 3 ปี หรือ 60,000 กิโลเมตร และการรับประกัน 3 ปี ไม่จำกัดระยะทาง หลังจากเปิดรับจองได้ไม่นาน รถ i3S ที่อยู่ในสต๊อกของ BMW Thailand ก็หมดลงอย่างรวดเร็ว เนื่องจากราคาที่ปล่อยออกมานั้นโดนใจคนที่กำลังอยากได้อยู่พอดี! 

...

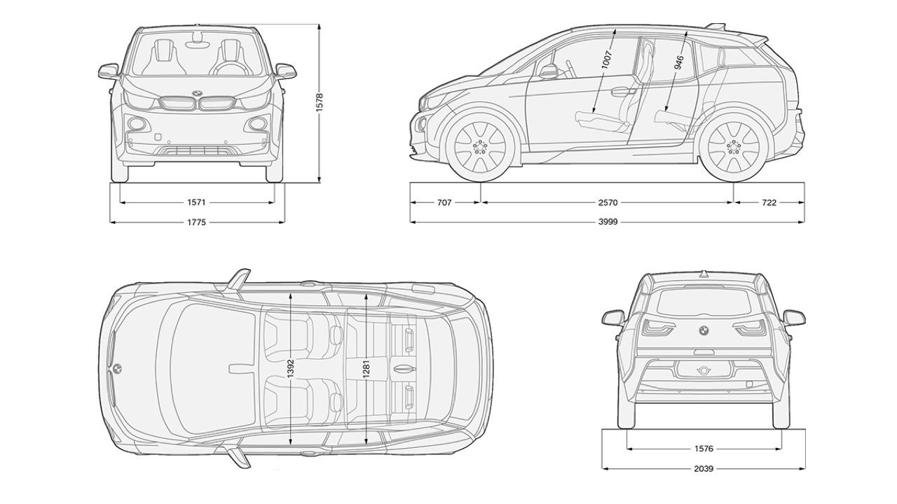
BMW i3S ยานยนต์พลังงานไฟฟ้าของค่ายใบพัด รูปลักษณ์ด้านหน้ามีการปรับปรุงเปลี่ยนแปลงจาก i3 รุ่นเดิมให้มีใบหน้าที่ลงตัวมากยิ่งขึ้น ไฟหน้าแบบ LED ไม่มีระบบอัตโนมัติมาให้เนื่องจากเหมาะกับการขับในเมืองมากกว่าจะเอาออกไปลากทางไกลบนถนนที่ปราศจากแสงไฟ กันชนหน้าแบบใหม่พร้อมไฟเลี้ยว LED ดูลงตัวมากกว่ากันชนของ i3 รุ่นแรก ตัวถังด้านข้างยังเหมือนเดิมไม่มีอะไรเปลี่ยนแปลงแต่ล้ออัลลอยลายใหม่มียางหน้ากว้างมากขึ้นจาก 175/50R20 เป็น 195/50R20 กระจังหน้าแบบปิดทึบ เอกลักษณ์ของ BMW i ไม่ว่าจะเป็น i3 หรือ i8 ก็จะใช้กระจังทรงนี้ ด้านข้างคืองานออกแบบยานยนต์แห่งอนาคตอย่างแท้จริง ประตูบานหลังเปิดออกแบบแค็บของรถกระบะเป็นงานดีไซน์ที่แปลกตาแต่ใช้งานได้จริง มิติตัวถัง ยาว 3,999 มิลลิเมตร กว้าง 1,775 มิลลิเมตร สูง 1,758 มิลลิเมตร ความยาวฐานล้อ 2,750 มิลลิเมตร ระยะห่างล้อหน้า 1,571 มิลลิเมตร ระยะห่างล้อหลัง 1,576 มิลลิเมตร ระยะโอเวอร์แฮงค์หน้า 707 มิลลิเมตร ระยะโอเวอร์แฮงค์หลัง 722 มิลลิเมตร

...

...

ประตูบานหลังของ i3 คุณต้องเปิดบานประตูหน้าออกก่อนแล้วเอื้อมมือไปที่ด้านบนของประตูบานหลังซึ่งออกแบบคล้ายเป็นเสากลางไปในตัว หลังคาสีดำตัดกับตัวถังสีแดงอย่างโจ่งแจ้ง ส่วนท้ายที่คล้ายกับรถยนต์ MPV หรือรถตู้ดูน่ารักแบบไม่เหมือนใคร ไฟท้าย LED ถูกครอบด้วยกระจกที่แยกจากกระจกฝาท้ายแบบสองชิ้น ฝาท้ายของรถยนต์ไฟฟ้าราคา 3.7 ล้าน ยังต้องใช้มือยกเพื่อเป็นการออกกำลังกายและช่วยประหยัดไฟ!! ผมชอบการออกแบบของไฟท้ายที่อยู่ในกรอบกระจกแบบสองชิ้น กรอบไฟมัลติรีเฟคเตอร์และกันชนหลังสวยงามลงตัว คุณไม่ต้องไปมองหาท่อไอเสียในรถคันนี้ให้เสียเวลาเนื่องจากมันเป็นรถยนต์ไฟฟ้า 100% 

...

น้ำหนักคือสิ่งที่บั่นทอนประสิทธิภาพของรถยนต์พลังงานไฟฟ้าทุกคัน วิศวกรของ BMW พยายามลดทอนน้ำหนักส่วนเกินของ i3 ด้วยการคัดเลือกวัสดุน้ำหนักเบามาประกอบขึ้นเป็นแชสซีส์และเปลือกตัวถัง โดยยังคงคำนึงถึงความแข็งแกร่งในการใช้งาน รองรับ และปกป้องผู้โดยสารด้วยระบบความปลอดภัยขั้นสูง โครงสร้างหลักของ i3S ในส่วนของแชสซีส์และโครงสร้างหลักของห้องโดยสาร ผลิตด้วยอะลูมิเนียมทรงกล่อง เป็นโครงสร้างที่เรียบง่ายและไม่มีความสลับซับซ้อน สำหรับการลดระยะเวลาการประกอบในขั้นตอนของสายการผลิต แชสซีส์ของ i3S ทนทานต่อแรงบิด รวมถึงกระจายแรงหากเกิดอุบัติเหตุ

ห้องโดยสาร BMW ใช้วัสดุที่มีความก้าวไกลด้านเทคโนโลยีวัสดุใหม่ของรถยนต์ นั่นก็คือวัสดุน้ำหนักเบาแต่มีความแข็งแรงซึ่งเรียกกันว่า CFRP หรือ Carbon Fibre-Reinforced Plastic เป็นโครงสร้างหลักและเปลือกตัวถังของรถแข่ง F1 หรือรถซุปเปอร์คาร์บางรุ่น CFRP มีน้ำหนักเบาแต่มีความแข็งแรงสูง รองรับที่นั่งในรถแบบ 2+2 เนื่องจากคุณสมบัติของ Carbon Fibre-Reinforced Plastic สามารถรับและกระจายแรงไม่แตกต่างจากโครงสร้างที่ใช้โลหะ ในขั้นตอนของการวิจัยและพัฒนาโครงสร้างอย่างเข้มข้น ทำให้รถ i3S มีน้ำหนักรวมที่ 1,340 กิโลกรัม ซึ่งถือว่าเบามากในกลุ่มรถยนต์ที่ขับเคลื่อนด้วยพลังงานไฟฟ้า แชสซีส์อัลลอยออกแบบให้ท่อนส่วนกลางลำตัวเป็นรูปอุโมงค์ เพื่อการวางแบตเตอรี่ ตำแหน่งของการวางยังผ่านการคำนวณค่าเพื่อตัวเลขในการกระจายน้ำหนักที่ดี ซึ่งจะส่งผลไปถึงการขับขี่ควบคุม นอกจากนั้น จุดศูนย์ถ่วงและฐานล้อรวมถึงระดับความสูงของตัวรถ ยังผ่านการทดสอบเพื่อลดค่าศูนย์ถ่วงลงให้ต่ำมากที่สุดตัวเลขการกระจายน้ำหนักหน้า-หลังที่ 50:50 ทำให้เจ้า i3S มีความเสถียรในทุกย่านความเร็ว

ห้องโดยสารเน้นไปที่รูปแบบอันทันสมัย เพื่อเอาใจกลุ่มคนรุ่นใหม่ที่นิยมรถยนต์พลังงานไฟฟ้า อุปกรณ์ต่างๆ รวมถึงรูปแบบของโทนสีภายใน วัสดุที่ถูกคัดเลือกมาใช้กับตำแหน่งของการติดตั้งยังคงสื่อให้เห็นถึงสายพันธ์ุยานยนต์จาก BMW ห้องโดยสารแบบ 4 ที่นั่ง พร้อมกับพื้นที่เก็บสัมภาระส่วนท้าย มันมีงานออกแบบการเปิดประตูแบบตู้กับข้าว เพื่ออำนวยความสะดวกในการขึ้น-ลง ประตูแบบดังกล่าว ยังสร้างความรู้สึกที่โปร่งโล่ง และทันสมัย คล้ายกับบานประตูของ Mazda RX-8 มาตรวัดหน้าปัดทั้งหมดใช้จอภาพ LCD เน้นไปที่ความคมชัดและความง่ายในการใช้งาน

มาตรวัดตรงหน้าคนขับ ใช้จอ LCD ขนาด 6.5 นิ้ว ที่ให้ความสว่างและความคมชัดสูง ส่วนจอมอนิเตอร์กลางของระบบ i-DRIVE ซึ่งควบคุมอุปกรณ์และระบบต่างๆ วางตำแหน่งไว้ที่กลางคอนโซลด้านบน เป็นจอ LCD ขนาด 8.8 นิ้ว ที่ออกแบบใหม่หมด แต่ยังคงคล้ายกับจอในรถรุ่น 3-Series f30 กึ่งกลางของเบาะคู่หน้า เป็นที่อยู่ของปุ่มสวิตช์ ควบคุมระบบ i-DRIVE รวมถึงสวิตช์ เลือกโหมดของการขับเคลื่อน แผงประตูและวัสดุที่ใช้ห่อหุ้มหลังคาเป็นผ้าสีเทา จอภาพ 8.8 นิ้ว ควบรวมฟังก์ชันต่างๆ เหมือนคอมพิวเตอร์ส่วนกลาง ทำหน้าที่เป็นจอมอนิเตอร์ของการควบคุมระบบเครื่องเสียงติดรถ การเชื่อมต่อสื่อสารกับโลกภายนอก เป็นจอภาพมอนิเตอร์ของระบบนำทางด้วยดาวเทียมที่ละเอียดและคมชัด รวมถึงยังเป็นจอภาพของกล้องมองหลังอีกด้วย จอมัลติฟังก์ชันในส่วนคอนโซลกลาง ใช้ในการแสดงผลระบบ i-DRIVE ผ่านแป้นควบคุมอันเป็นเอกลักษณ์ของ BMW ยุคใหม่ พวงมาลัยสามก้านหุ้มหนังแท้ ส่วนเบาะโดยสารและแผงประตูรวมถึงงานตัดเย็บตกแต่งมีให้เลือกทั้งแบบหุ้มหนังหรือผ้าเนื้อหนา คอนโซลยังมีงานไม้คาดในตำแหน่งของผู้โดยสารด้านข้างคนขับ คอนโซลผลิตจากโฟมขึ้นรูปหุ้มด้วยไวนิล

เบาะทั้งหมดเป็นแบบครึ่งหนังครึ่งผ้า ใช้หนังอย่างนุ่มที่มีโทนสีเชื่อมโยงกับแผงคอนโซลและแผงประตูเพื่อความกลมกลืน โครงสร้างหลักของเบาะทำจากพลาสติกแทนที่โลหะแบบเก่าที่มีน้ำหนักมากกว่า ส่วนวัสดุที่ใช้ห่อหุ้มเบาะมีทั้งหนังแท้สีน้ำตาลอ่อนกับผ้าเนื้อดีสีเทา สายเข็มขัดนิรภัยทำเท่ด้วยการใช้โทนสีฟ้าของ BMW i นักออกแบบของ BMW ต้องการที่จะทำให้ห้องโดยสารของ i3 มีความโปร่งโล่ง จึงใช้โทนสีอ่อนที่เข้ากับรูปแบบของตัวรถ สำหรับกระจกบังลมรอบๆ ห้องโดยสาร ยังมีส่วนในการสร้างความรู้สึกปลอดโปร่ง ด้วยการออกแบบให้มีบานกระจกทรงแปลกตา ฝาท้ายกับกระจกบังลมบานหลังแทบจะเป็นชิ้นงานเดียวกัน มันเกิดขึ้นจากความจงใจที่จะทำให้ i3 มีมุมมองที่สื่อให้เห็นถึงความล้ำสมัย

ห้องโดยสารออกแนวห้องนั่งเล่นที่ตกแต่งด้วยเฟอร์นิเจอร์ล้ำๆ ประตูหน้าบานโตทำให้สัดส่วนของประตูบานหลังเล็กจนแปลกตา กระจกลดระดับความสูงในส่วนของเบาะผู้โดยสารตอนหลังเพื่อเพิ่มทัศนวิสัยมุมมอง ไม้โทนสีอ่อน จอภาพที่คุณคุ้นเคยและตำแหน่งของคันเกียร์ที่แปลกประหลาดราวกับยานสตาร์วอร์ส ทำให้ห้องโดยสารของ BMW i3 แตกต่างจากพี่น้องของมันอย่างสิ้นเชิง การออกแบบโดยย้ายคันเกียร์ไปอยู่ที่ก้านพวงมาลัยด้านขวาทำให้พื้นที่ส่วนกลางของซุ้มเกียร์หายไป กลายเป็นพื้นที่ว่างๆ ทำให้คนขับสามารถขยับตัวผ่านเบาะตอนหน้าได้อย่างที่ BMW คันอื่นทำไม่ได้ เกิดประโยชน์สูงสุดเมื่อคุณต้องจอดชิดกำแพงมากเป็นพิเศษเมื่อขับแล้วต้องจอดรถแถบเยาวราช ภายในของ BMW i3S ยังให้อารมณ์ยานยนต์ต้นแบบ Concept Car ด้วยจอภาพและงานตกแต่งที่เชื่อมกับแนวคิดของดีไซเนอร์ชั้นนำ อาจดูมีอุปกรณ์ไม่มากเหมือนรถไฟฟ้าจากแบรนด์อื่น แต่ความสลับซับซ้อนของระบบที่ถูกจัดวางปรุงแต่งมาเป็นอย่างดีทำให้การใช้งานง่ายดายด้วยการสร้างความคุ้นเคยในเวลาเพียงน้อยนิด เส้นโค้งและทึบสลับโปร่งของแดชบอร์ดโชว์ให้เห็นแก่นแท้ของความตั้งใจและความสามารถของทีมออกแบบได้ดีที่สุด เส้นตะเข็บบนผ้า หนังและลายไม้ เส้นใยสังเคราะห์ บวกพลาสติกรีไซเคิล การออกแบบทำออกมาได้อย่างสวยงามลงตัว แผงประตู พนักเท้าแขน ปุ่มและสวิตช์กับพวงมาลัยทรงแปลกตาพร้อมจอภาพราวกับกำลังควบคุมยานเวลาไทม์แมชชีน

วิศวกร และนักออกแบบของ BMW ทำการติดตั้งก้านสวิตช์ที่ออกแบบให้ทำงานคล้ายคันเกียร์เพื่อใช้สตาร์ตและควบคุมการขับขี่ โดยสามารถปรับระบบการขับเคลื่อนผ่านก้านสวิตช์ ที่อยู่บริเวณด้านขวาของคอพวงมาลัย โดยมีรูปแบบการใช้งานเหมือนกับการทำงานของก้านเกียร์อัตโนมัติ โดยมีตำแหน่งขับเคลื่อน D/P/N/R เรืองแสงสีแดงและสีเขียวในตำแหน่งที่กำลังถูกใช้งาน เพื่อทำให้ง่ายต่อการมอง รวมถึงความเรียบร้อยสวยงามรายละเอียดของชิ้นงานต่างๆ มีความประณีตสูง ตามสไตล์ของยานยนต์จากแดนไส้กรอกเหมือนเดิม มาตรวัดตรงหน้าคนขับใช้จอ LCD ขนาด 6.5 นิ้ว ที่ให้ความสว่างและความคมชัดสูง ส่วนจอของระบบ i-DRIVE ซึ่งควบคุมอุปกรณ์และระบบต่างๆ วางตำแหน่งไว้ที่กลางคอนโซลด้านบน เป็นจอ LCD ขนาด 8.8 นิ้ว ที่ออกแบบใหม่หมด แต่ยังคงคล้ายกับจอในรถรุ่น 3-Series f30 กึ่งกลางของเบาะคู่หน้า เป็นที่อยู่ของปุ่มสวิตช์ ควบคุมระบบ i-DRIVE รวมถึงสวิตช์ เลือกโหมดของการขับเคลื่อน แผงประตูและวัสดุที่ใช้ห่อหุ้มหลังคาเป็นผ้าสีเทาดำ

BMW i3S e-DRIVE ขับเคลื่อนด้วยพลังงานในรูปกระแสไฟจากแบตเตอรี่ ที่ส่งไปป้อนมอเตอร์ไฟฟ้า โดยทำการวางมอเตอร์ขับเคลื่อนไว้ที่ด้านหลัง สำหรับล้อขับเคลื่อนคู่หลัง แตกต่างจาก BMW i8 ที่ใช้มอเตอร์ขับเคลื่อนล้อคู่หน้า และใช้เครื่องยนต์ 3 สูบ วางกลาง ขับเคลื่อนล้อหลัง สำหรับมอเตอร์ไฟฟ้าของ i3S e-DRIVE นั้น สามารถสร้างกำลังได้สูงสุดถึง 184 แรงม้าหรือ 135 กิโลวัตต์ (จาก i3 รุ่นมาตรฐานที่ทำได้ 125 กิโลวัตต์) กับแรงบิดที่เพียงพอต่อการขับขี่ ทั้งในและนอกเมืองที่เพิ่มขึ้นจาก 250 นิวตันเมตร เป็น 270 นิวตันเมตร แรงบิดสูงสุดทะลักออกมาให้ใช้ตั้งแต่การออกตัวโดยไม่มีอาการรอรอบใดๆ ทั้งสิ้นจากการทำงานของมอเตอร์พลังสูง (ที่ค่อนข้างกินกระแสไฟอยู่พอสมควร) ทำให้ i3S มีความกระฉับกระเฉง คล่องแคล่วว่องไวเมื่อขับในเมือง มีอัตราเร่ง 0-100 กิโลเมตรต่อชั่วโมงสูงสีกับรถสปอร์ตคันเล็กเลยทีเดียว พลังงานจากแบตเตอรี่ในรูปของกระแสไฟฟ้าแรงดันสูงที่ส่งถ่ายให้กับแบตเตอรี่ ส่งผลให้ i3S มีความเหนือชั้นในด้านของแรงบิด

ทั้งนี้ แรงบิดสูงสุดของรถยนต์แบบ Hybrid ยังคงต้องอิงกับแรงบิดสูงสุดของเครื่องยนต์เป็นหลัก แตกต่างจากรถยนต์ที่ใช้พลังงานไฟฟ้าล้วนๆ แบบ i3S ที่แรงบิดสูงสุดมีให้ใช้ตั้งแต่การเริ่มต้นวิ่งออกตัวจากจุดหยุดนิ่ง อัตราเร่งจาก 0-100 กิโลเมตรต่อชั่วโมงทำได้ 6 วินาทีเศษ ส่วนความเร็วปลายไหลไปได้ถึง 156 กิโลเมตรต่อชั่วโมง ความเร็วสูงสุดของมันถูกล็อกไว้แค่ 156 กิโลเมตรต่อชั่วโมง เนื่องจากเป็นยานยนต์ที่ขับเคลื่อนด้วยพลังงานไฟฟ้า ไม่จำเป็นต้องเร็วจี๋ระดับ 200 กิโลเมตรต่อชั่วโมง ซึ่งจะทำให้เกิดการสิ้นเปลืองกระแสไฟจากแบตเตอรี่โดยใช่เหตุ

แบตเตอรี่ใหม่ใน BMW i3S e-DRIVE เป็นแบบลิเทียม-ไอออน 8 โมดูล 96 เซลล์ (แต่ละโมดูลมี 12 เซลล์) สามารถปล่อยแรงเคลื่อนไฟฟ้าในระดับ 360 โวลต์ จ่ายพลังงานไฟได้ 33.2 กิโลวัตต์ แบตเตอรี่ทั้งชุดเมื่อทำงานจะมีความร้อนแพร่ออกมา และทำให้อุณหภูมิของห้องเก็บแบตฯ สูงเกินความจำเป็น วิศวกรของ BMW จึงทำการติดตั้งอุปกรณ์หล่อเย็นเพื่อลดอุณหภูมิของแบตฯ ขณะทำงาน โดยอุณหภูมิแบตเตอรี่แบบลิเทียม-ไอออน จะสามารถทำงานได้อย่างเต็มประสิทธิภาพ ที่อุณหภูมิประมาณ 20 องศาเซลเซียส แบตฯ แบบลิเทียม-ไอออนของ i3S มีระยะเวลาในการชาร์จกระแสไฟ 6-8 ชั่วโมง ในการเสียบชาร์จจากไฟบ้านและตั้งโหมดชาร์จช้า หากต้องการชาร์จเร็วในสถานีชาร์จไฟ จะใช้เวลาในการชาร์จประมาณครึ่งชั่วโมงจะได้กระแสไฟฟ้า 80% ส่วนอายุการใช้งานของแบตเตอรี่ลิเทียม-ไอออน มีอายุเฉลี่ย 8 ปี หรือ 100,000 กิโลเมตร ซึ่งเป็นระยะเวลาในการรับประกันชุดแบตฯ ตามมาตรฐานของค่าย BMW Group

การชาร์จไฟกับอุปกรณ์ i WallBox ไม่วุ่นวาย ใช้เวลาแค่ 3-4 ชั่วโมงไฟก็เข้าเกือบจะเต็มแบตฯ ส่วนการชาร์จเร็วตามสถานีชาร์จพร้อมบัตร Charge Now ของ BMW Thailand ใช้เวลาในการประจุไฟแค่ 30 นาที คุณก็จะได้พลังไฟฟ้าในแบตฯมากถึง 80% และการชาร์จเองที่บ้านโดยไม่มีอุปกรณ์ชาร์จของ BMW ใช้การเสียบปลั๊กสามตาเข้ากับเต้าไฟภายในบ้าน สายไฟและมิเตอร์ไฟฟ้าควรมีขนาดใหญ่ และไม่ควรใช้ปลั๊กต่อพ่วงที่มีสายเล็กเกินไปไม่เหมาะกับการชาร์จไฟใน i3 ซึ่งกินกระแสไฟฟ้าพอๆ กับเครื่องปรับอากาศขนาด 18,000 BTU วิศวกรของ BMW i ยังออกแบบให้คุณเลือกระดับของการชาร์จได้ 3 สเกลก็คือ Low / Medium / High ไฟบ้านทั่วไปใช้แบบ Low จะใช้เวลาชาร์จนาน 8-12 ชั่วโมง หรือขึ้นอยู่กับระดับไฟในแบตฯก่อนชาร์จว่าเหลือมาก-น้อยเท่าไร ส่วนการชาร์จเร็วในสถานีชาร์จก็จะได้ความรวดเร็วแค่ครึ่งชั่วโมง กาแฟยังไม่ทันจะหมดแก้วไฟก็เกือบจะเต็มแบตเตอรี่แล้วละครับ

รายละเอียดด้านเทคนิค
มอเตอร์ไฟฟ้า เทคโนโลยี BMW eDrive
กำ ลังสูงสุด 135 กิโลวัตต์ 184 แรงม้า
แรงบิดสูงสุด 270 นิวตัน - เมตร
ประสิทธิภาพการใช้ไฟฟ้า (มาตรฐาน NEDC) 14.3 กิโลวัตต์ / 100 กิโลเมตร)
ชนิดแบตเตอรี่ Lithium-ion (แรงดันสูง)
ความจุพลังงานแบตเตอรี่ไฟฟ้าแรงสูง (33.2 กิโลวัตต์ - ชั่วโมง)
ระยะทางวิ่งสูงสุด มาตรฐาน NEDC 280 กิโลเมตร วิ่งทดสอบได้ประมาณ 198 กิโลเมตร
ความเร็วสูงสุด 160 กิโลเมตร / ชั่วโมง
อัตราเร่ง 0 - 100 กิโลเมตร / ชั่วโมง 6.9 วินาที
ล้อ ล้ออัลลอย ขนาด 20 นิ้ว ลาย Double-spoke
ขนาดยาง ล้อหน้า: 5.5 × 20 / ยาง 175/55 R20
ล้อหลัง: 6 × 20 / ยาง 195/50 R20
มิติรถยนต์ ยาว 4,006 มิลลิเมตร กว้าง 1,791 มิลลิเมตร สูง 1,590 มิลลิเมตร
ปริมาตรในการบรรจุของ 260 - 1,100 ลิตร
น้ำ หนักรถสุทธิ 1,340 กิโลกรัม
ระบบขับเคลื่อนและเทคโนโลยี
พวงมาลัยไฟฟ้าปรับน้ำ หนักตามความเร็วรถขณะขับขี่ (Servotronic)
ปุ่มควบคุมมัลติฟังก์ชันที่พวงมาลัย
ระบบช่วยการขับขี่ รุ่น Plus (Driving Assistant Plus)
อุปกรณ์ภายนอก
ระบบไฟหน้าแบบ LED
ระบบใบปัดน้ำ ฝนทำ งานอัตโนมัติ
ระบบปลดล็อกประตูอัจฉริยะ (Comfort Access System)
สปอยเลอร์ท้าย
อุปกรณ์ภายใน
กระจกมองข้างและกระจกมองหลังตัดแสงอัตโนมัติ
พนักวางแขนระหว่างเบาะนั่งตอนหน้า
เข็มขัดนิรภัยดีไซน์ BMW i Blue
ภายในตกแต่งด้วยไม้ลาย oak dark แบบด้าน
ภายในตกแต่งดีไซน์ BMW i Suite
ระบบปรับอากาศอัตโนมัติ
ฟังก์ชันช่วยการจัดเก็บสัมภาระ
ระบบความบันเทิงและการสื่อสาร
ระบบวิทยุพร้อมแผนที่นำ ทาง รุ่น Professional
ปุ่มควบคุม iDrive
ระบบ BMW ConnectedDrive
ระบบเชื่อมต่อโทรศัพท์ผ่าน Bluetooth และช่อง USB
ความปลอดภัย
ถุงลมนิรภัยสำ หรับคนขับและผู้โดยสารตอนหน้า
ถุงลมนิรภัยด้านข้างสำหรับคนขับและผู้โดยสารตอนหน้า
ถุงลมนิรภัยศีรษะสำหรับผู้โดยสารตอนหน้าและหลัง (ยกเว้นผู้โดยสารตอนหลังกลาง)
ระบบ Teleservices
ปุ่มโทรออกฉุกเฉิน (Intelligent Emergency Call)
ระบบป้องกันล้อล็อกขณะเบรก (ABS)
ระบบช่วยเสริมแรงเบรกอัตโนมัติ (Brake Assist)
ระบบควบคุมการกระจายแรงเบรกขณะเข้าโค้ง (CBC)
ระบบสร้างเสียงจำลอง เตือนผู้ใช้ถนนรอบข้าง
เซนเซอร์ควบคุมระยะการจอดด้านหน้าและหลัง
กล้องแสดงภาพด้านหลัง
ชุดปะยางฉุกเฉิน.

อาคม รวมสุวรรณ
E-Mail chang.arcom@thairath.co.th
Facebook https://www.facebook.com/chang.arcom
https://www.facebook.com/ARCOM-CHANG-Thairath-Online-525369247505358/