ย้อนเวลากลับไป 30 ปีก่อน ในช่วงที่เครื่องยนต์ลูกสูบสามเหลี่ยมกำลังเฟื่องฟู เครื่องยนต์โรตารีสูบหมุนแบบสามเหลี่ยมที่ไม่มีเพลาข้อเหวี่ยงเคยได้รับความนิยมและกลายเป็นที่รู้จักของผู้คน จากงานวิศกรรมต้นกำลังที่มีขนาดเล็กแต่ให้กำลังมหาศาล ข้อดีของเครื่องยนต์ชนิดนี้ก็คือน้ำหนักที่เบา ขนาดที่เล็กกะทัดรัดเหมาะกับการวางในรถสปอร์ตไซส์เล็ก โรตารีให้กำลังในรูปของแรงบิดเหนือชั้นกว่าเครื่องยนต์ทั่วไปเมื่อเทียบกับขนาด ปริมาตรความจุและน้ำหนักของตัวเครื่อง ส่วนข้อเสียก็มีอยู่เพียบทั้งปัญหาเรื่องความร้อนในห้องเครื่องยนต์ การสึกหรอที่สูงกว่าเครื่องสูบเรียง รวมถึงมลพิษที่ปล่อยออกมา!

...

ปัจจุบัน ยุคสมัยที่เปลี่ยนไป ทำให้บริษัทผู้ผลิตรถยนต์ทุกแบรนด์หันมาเน้นในเรื่องของการลดมลพิษและอัตราสิ้นเปลือง ทำให้เกิดเครื่องยนต์รุ่นใหม่ที่มีความสามารถและมีประสิทธิภาพสูงกว่า มีขนาดที่เล็กกว่าแถมยังอัดอากาศด้วยเทอร์โบชาร์จเพื่อทำให้แรงม้าและแรงบิดมากกว่าเครื่องยนต์รุ่นเก่าที่ตัวโต กินจุและปล่อยมลพิษเยอะเครื่องโรตารีซึ่งครั้งหนึ่งเคยโด่งดังจึงค่อยๆ จางหายไป จากปัญหาในเรื่องของมลพิษที่เผาไหม้ไม่สมบูรณ์ซึ่งถูกพ่นออกมากับไอเสียเกิน 30 กว่าเปอร์เซ็นต์ ชุดกรอง catalytic converter ไม่สามารถลดระดับของมลพิษที่ปล่อยออกมาได้ เนื่องจากน้ำมันเครื่องที่ lube ห้องเผาไหม้ยังจำเป็นต้องเข้าไปหล่อลื่น ปัญหาในเรื่องการสูบกินเชื้อเพลิงเบนซินและการกินน้ำมันเครื่อง ตามด้วยปัญหาซ้ำซ้อนด้านความสึกหรอที่สูงกว่าเครื่องยนต์ปกติเนื่องจากความร้อนที่เกิดขึ้นเมื่อต้องหมุนในรอบที่สูงกว่าเครื่องยนต์แบบอื่น

...

เครื่องยนต์โรตารีถูกออกแบบให้มีรอบการทำงานที่จัดจ้านมาก เครื่องสูบหมุนของ Mazda บางรุ่นมีรอบเครื่องเกิน 10,000 รอบต่อนาที และทำให้เกิดความร้อนแพร่กระจายสะสมในห้องเครื่องยนต์ จากการหมุนด้วยความเร็วสูงของโรเตอร์ ส่งผลให้ประเกน สายไฟและอุปกรณ์ชิ้นส่วนที่เคลื่อนไหวในเครื่องยนต์ เช่น สูบโรเตอร์แบบสามเหลี่ยม การเสื่อมสภาพสึกหรอจากที่สูบต้องหมุนในรอบที่รอบสูงมาก ชิ้นส่วนภายในเครื่องยนต์โรตารี่ยังมีราคาแพง และมีต้นทุนในการผลิตสูงกว่าเครื่องยนต์สูบเรียง ช่างที่มีความเชี่ยวชาญชำนาญกับการซ่อมบำรุงเครื่องยนต์ชนิดนี้มีน้อย ความนิยมชมชอบจึงค่อยๆ ลดลงไปเรื่อยๆ เหลือเพียงนักเลงรถกลุ่มเล็กๆ ที่ยังมั่นคงกับเครื่องโรตารีโดยพยายามรักษาสภาพปรับปรุงตกแต่งและบูรณะให้รถและเครื่องยนต์อยู่ในสภาพที่วิ่งใช้งานได้แต่ก็เหลืออยู่น้อยเต็มทน

...

...

เครื่องยนต์สูบหมุนหรือเครื่องยนต์โรตารีแบบ 4 โรเตอร์ของ Mazda เมื่อ 16 ปีที่ผ่านมาสร้างปรากฏการณ์ครั้งยิ่งใหญ่ในวงการมอเตอร์สปอร์ตโลก ด้วยการคว้าแชมป์โลกในรายการแข่งรถระยะไกล LeMans ด้วยรถ Mazda 787B เครื่องยนต์โรตารี 4 โรเตอร์ อัดอากาศด้วยเทอร์โบ อนุพันธ์จักรกลรถแข่งเอนดูลานซ์สมรรถนะสูงรุ่น 787B เป็นรถแข่งในประเภทกรุ๊ป C ถูกสร้างขึ้นโดยทีมแข่งของ Mazda สำหรับใช้ในการแข่งขันรถยนต์ทางเรียบระยะไกล ในรายการสปอร์ตเวิลด์แชมเปียนชิพของประเทศญี่ปุ่น หลังจากนั้นรถแข่งคันนี้ได้ถูกปรับแต่งอย่างดี และส่งลงทำการแข่งขันในรายการแข่งรถแบบ 24 ชั่วโมง หรือ Le Mans ประจำฤดูกาล 1990-1991 รถแข่ง Mazda 787B ซึ่งมีน้ำหนักรวมทั้งคันแค่ 850 กิโลกรัม วางเครื่องยนต์โรตารีที่ให้กำลังถึง 700 แรงม้า

หลักการทำงานของเครื่องยนต์โรตารี
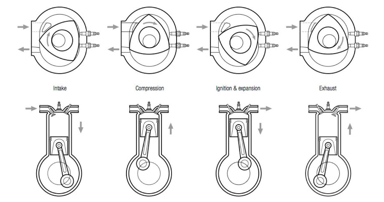
หลักการทำงานของเครื่องยนต์โรตารี ซึ่งไม่มีลูกสูบชักขึ้น-ลง เหมือนเครื่องยนต์ปกติ ไม่มีก้านสูบ ลิ้นและสปริงรวมถึงเพลาลูกเบี้ยวที่ค่อนข้างมีความเสถียรน้อยกว่าเมื่อทำงาน เครื่องยนต์โรตารีจึงเป็นเครื่องยนต์ที่มีห้องเผาไหม้แบบเดี่ยว ภายในห้องเผาไหม้ของเครื่องยนต์ชนิดนี้มีส่วนที่เคลื่อนไหวอยู่สองส่วนคือ โรเตอร์หรือลูกสูบทรงสามเหลี่ยมด้านเท่า ชิ้นส่วนอีกชิ้นคือแครงชาร์ฟที่อยู่ในโรเตอร์ ปลายทั้งสามของโรเตอร์ จะหมุนไปรอบๆ ห้องเผาไหม้ ส่วนที่แบ่งออกเป็นสามส่วนของผนังสูบจะทำให้กำลังอัดของเครื่องโรตารี่เพิ่ม หรือลด แล้วแต่การหมุนของโรเตอร์ว่าอยู่ในตำแหน่งใด

หลักแนวคิดของเครื่องยนต์โรตารีหรือเครื่องยนต์ Wankel (คิดค้นขึ้นโดยวิศวกรชาวเยอรมันชื่อ Felix Wankel) ใช้โรเตอร์หนึ่งตัวรูปสามเหลี่ยม หมุนอยู่ในเสื้อสูบรูปวงรี การหมุนครบหนึ่งรอบมีระบบการทำงานที่คล้ายเครื่องยนต์สี่จังหวะ คือดูด อัด ระเบิด คาย โดยโรเตอร์เพียงตัวเดียวทำหน้าที่ทั้งหมด ในยุคแรกเริ่ม เครื่องยนต์ชนิดนี้ถูกนำมาวางในรถเยอรมันยี่ห้อ NSU และได้รับความนิยมพอสมควรแต่ไม่ค่อยกว้างขวางเท่าใดนัก

เมื่อเครื่องยนต์โรตารีถูกออกแบบให้มีการส่งถ่ายกำลังอยู่ในแกนเดียวกัน ทำให้สามารถวางเครื่องในระดับที่ต่ำมาก ส่งผลไปถึงค่า Center Of Gravity (CG) ที่ต่ำกว่าปกติ ได้เปรียบรถยนต์แบบอื่นในด้านการทรงตัว รอบเครื่องที่จัดจ้านมากกว่าเครื่องสูบเรียงทำให้ขับสนุกและให้ย่านกำลังแรงบิดที่ต่อเนื่องตั้งแต่รอบต่ำไปจนถึงรอบสูงสุด การที่มันไม่มีชิ้นส่วนพวกวาล์ว โดยผนังด้านข้างเสื้อสูบจะมีพอร์ตหลัก 2 พอร์ตคือ พอร์ตไอดีและพอร์ตไอเสีย ทำหน้าที่ป้อนไอดีหรือเชื้อเพลิงกับอากาศ และพอร์ตไอเสียสำหรับการระบายไอเสียจากการเผาไหม้ที่สมบูรณ์ออกจากกระบอกสูบ รูปทรงรีของผนังกระบอกสูบและเพลาเยื้องศูนย์จะให้มุมของลูกสูบทั้งสามมุม เมื่อมันทำงานโดยหมุนตามเข็มนาฬิกาจะรีดทั้งไอดีและไอเสียไปตามผนังกระบอกสูบ

หลังจากไอดีถูกดูดผ่านเข้ามาทางพอร์ตไอดีเป็นการทำงานในสเตปแรกแล้ว สเตปที่สอง-รูปทรงของผนังกระบอกสูบจะบังคับให้ไอดีดังกล่าวถูกบีบอัดลด พื้นที่ลง สเต็ปที่สาม เมื่อไอดีถูกบีบอัดจนร้อนและมีความดันสูงขึ้น มันจะระเบิดด้วยการจุดประกายไฟจากหัวเทียน 2 ตำแหน่ง แรงระเบิดจะเป็นแรงผลักดันให้ลูกสูบหมุนเคลื่อนที่ต่อไป จนกระทั่งไอเสียที่เกิดขึ้นจากการสันดาปผ่านพอร์ตไอเสียออกไปสู่บรรยากาศ หรือที่ช่างเครื่องยนต์เรียกกันทั่วไปว่า จังหวะคายนั่นเอง

จังหวะของการหมุนในสเตปถัดไป ก็จะหมุนเวียนไปเข้าสู่จังหวะดูดอีกครั้ง ต่อเนื่องวนเวียนอยู่แบบนี้จนกว่าเชื้อเพลิงในถังจะหมดลง เช่นเดียวกับวัฏจักรการทำงานของเครื่องยนต์สูบเรียงแบบ 4 จังหวะ แต่เครื่องยนต์แบบโรตารีของ Mazda RX-8 จะใช้การทำงานของลูกสูบแบบสามเหลี่ยมที่หมุนเป็นวงกลมภายในผนังกระบอกสูบรูปทรงรี การหมุนของลูกสูบในเครื่องโรตารีจำนวน 1 รอบ จะได้กำลังจากการระเบิดถึง 3 ครั้ง ในขณะที่เครื่องยนต์แบบสูบเรียงจะต้องหมุนถึง 2 รอบ แล้วสร้างกำลังได้แค่ครั้งเดียว

เมื่อเปรียบเทียบกันแล้ว เครื่องโรตารีของ RX-8 จะมีประสิทธิภาพสูงกว่าเครื่องสูบชักในปริมาตรความจุซีซีเท่ากันถึง 6 เท่า การพัฒนาเครื่องสูบหมุนที่ไม่เคยหยุดยั้งของค่าย Zoom Zoom ก่อกำเนิดวิศวกรรมทางการขับเคลื่อนที่เป็นเอกเทศ ถึงแม้มันจะไม่ค่อยได้รับความนิยมจากปัญหาในเรื่องของความร้อนและการสึกหรอ ที่มากกว่าเครื่องสูบชักจากการหมุนที่รวดเร็วของลูกสูบ แต่ปัญหาดังกล่าวได้รับการปรับปรุงแก้ไขอยู่ตลอดเวลาในห้องทดสอบเครื่องยนต์ ของบริษัท Mazda การใช้วัสดุที่แข็งแกร่งทนทานมากขึ้นช่วยเพิ่มความมั่นใจให้กับผู้ใช้รถ Mazda ที่วางเครื่องโรตารี เช่น โมเดล Crossmo ในยุค 70′ ถัดมาในยุค 80′ ด้วยตัวรถที่ร้อนแรงรุ่น RX-3 ต่อเนื่องด้วย RX-7 อีกสามโมเดล คือรหัส FA/FC/FD และมาถึงยุคปัจจุบันในโมเดล RX-8 ก่อนยุติสายการผลิตไปในปี 2012

ในสภาพการทำงานปกติ เครื่องยนต์โรตารีแบบสูบหมุน 2 โรเตอร์ จะให้กำลังมากกว่าเครื่องสูบเรียงอยู่แล้ว การออกแบบให้เครื่องยนต์ Renesis Rotary ของ RX-8 ทำงานได้สมบูรณ์แบบมากยิ่งขึ้น วิศวกรของ Mazda จึงใช้ระบบ Dynamically Balances Rotor ซึ่งทำการออกแบบมาเพื่อตรวจจับอาการสั่นสะท้านจากการหมุนในรอบจัดของโรเตอร์ โดยทำการวัดค่าจากมวลของน้ำมันหล่อลื่นหรือ Mass Of Oil ที่หล่อลื่นอยู่ระหว่างห้องฟันเฟืองที่บริเวณแกนกลางของโรเตอร์กับฟันเฟืองของเพลาเยื้องศูนย์ นอกจากนั้น การแก้อาการที่ขาดความสมดุลของการหมุนยังใช้การเพิ่มหรือลดมวลน้ำมันหล่อลื่นในห้องเฟืองดังกล่าวด้วย นับได้ว่าเป็นการสร้างสมดุลแบบ Dynamic อย่างแท้จริง การใช้หัวฉีดเชื้อเพลิง 3 หัวต่อโรเตอร์ 1 ตัว เพื่อรองรับการฉีดจ่ายเชื้อเพลิงในรอบสูงและทำให้เกิดส่วนผสมของเชื้อเพลิง กับอากาศในปริมาณที่พอดีต่อความต้องการและเป็นเนื้อเดียวกันให้มากที่สุด รูปทรงของพอร์ตไอดีจึงมีคุณสมบัติที่ดีในการรีดอากาศ และนี่คือหนึ่งในเครื่องยนต์ที่เคยคว้ารางวัลเครื่องยนต์ยอดเยี่ยมประจำปี 2006-2007 และถูกวางลงไปในห้องเครื่องของรถ RX-8 รถสปอร์ตที่ได้ชื่อว่ามีและใช้เครื่องยนต์แบบสูบหมุนหนึ่งเดียวบนเส้นทางของโลกแห่งยนตรกรรม

สิ่งที่สร้างปัญหาให้กับเครื่องโรตารีจนทำให้มันถึงแก่กาลอวสาน คือการสึกหรอของมุมหัวโรเตอร์ทั้งสามด้านที่ต้องหมุนด้วยความเร็วสูง แม้ลูกสูบสามเหลี่ยมของมันจะผลิตมาจากอัลลอยชนิดพิเศษที่มีความแข็งแกร่ง ทนทานมาก ก็ยังไม่อาจทนต่อการใช้งานเมื่อมันต้องพบกับอุณหภูมิที่สูงอยู่ตลอดเวลา หากขับใช้งานในรอบสูงอย่างต่อเนื่อง เครื่องยนต์ยังกินเชื้อเพลิงมากกว่าเครื่องแบบสูบเรียง รวมถึงความเสียเปรียบเครื่องยนต์แถวเรียงอัดเทอร์โบรุ่นใหม่ที่มีขนาดเล็กลง กินเชื้อเพลิงเท่าที่จำเป็น มีแรงบิดที่ดีตั้งแต่รอบต่ำไล่ไปจนถึงรอบสูง  และปล่อยมลพิษน้อยกว่าเครื่องยนต์โรตารีหลายเท่า หลังจากผ่านร้อนผ่านหนาวสะสมประสบการณ์ในการผลิตเครื่องยนต์มานานถึง 97 ปี ปัจจุบัน Mazda พัฒนาเครื่องยนต์ที่ใช้เทคโนโลยี SkyActive กับรถรุ่นใหม่ล่าสุด ขุมกำลังสูบเรียงแบบใหม่มีการปรับปรุงแก้ไขให้มีสมรรถนะที่ดี มีขนาดเล็กและกินเชื้อเพลิงไม่มาก ให้กำลังเทียบเท่าหรือดีกว่าเครื่องยนต์ที่มีขนาดใหญ่ และนี่คือจุดสุดท้ายที่เครื่องยนต์โรตารีของ Mazda ได้เดินทางมาถึง เมื่อเครื่องยนต์ชนิดนี้และโมเดล RX-8 ต้องยุติสายการผลิตลงอย่างสิ้นเชิงในปี 2012 เหลือไว้เพียงตำนานอันยิ่งใหญ่ที่มันเคยฝากผลงานไว้ในวงการมอเตอร์สปอร์ตให้ ได้จดจำว่า ครั้งหนึ่ง Mazda เคยมีเครื่องยนต์ที่ทรงประสิทธิภาพแต่กลับไม่ได้รับความนิยมเท่าที่ควร

รถสปอร์ต Mazda ที่ใช้เครื่องยนต์สูบหมุนแบบโรตารี คืองานวิศวกรรมชั้นเยี่ยมของค่ายรถยนต์ที่มักมุ่งเน้นผลิตภัณฑ์ของตนไปในทิศทางที่อิงกับกีฬามอเตอร์สปอร์ต เป็นแบรนด์รถเก่าแก่ของญี่ปุ่นที่มีเอกลักษณ์และวิถีทางของตัวเอง ไม่ชอบการลอกเลียนแบบและมักจะคิดค้นงานวิศวกรรมยานยนต์ที่มีประสิทธิภาพตลอดระยะเวลา 97 ปีของการก่อตั้ง

Mazda Motor คือผู้สร้างรถยนต์ที่มีความแปลกแยกแตกต่างจากรถญี่ปุ่นทั่วไป จากรูปทรง เครื่องยนต์ เกียร์ ระบบรองรับหรือช่วงล่างที่ไม่เป็นสองรองจากค่ายใด ภายในที่สวยงามจากการจัดวางอุปกรณ์และการเลือกใช้วัสดุ รวมถึงสมรรถนะของการขับขี่ที่ให้อารมณ์สนุกสนาน แม่นยำและควบคุมได้ดั่งใจ ลูกค้าส่วนใหญ่ของ Mazda มักเลือกซื้อรถยนต์ที่มีสมรรถนะในด้านการควบคุมที่โดดเด่น รูปทรงกะทัดรัดและให้การยึดเกาะกับถนนดี คล่องตัว มีมุมมองแบบสปอร์ตมากกว่ารถทั่วๆ ไป จากการออกแบบที่เชื่อมโยงกับแนวทาง KODO Design นับเป็นบุคลิกพื้นฐานของแบรนด์ Mazda ซึ่งพบเห็นได้ในทุกโมเดล ไม่เว้นแม้แต่รถกระบะในตระกูล BT ไล่เรียงไปจนถึงรถสปอร์ตต้นแบบอนาคตอย่าง Mazda RX-Concept

1968 Mazda Cosmo

1973 Mazda RX3 Savanna

1981 Mazda RX7 fb

1987 Mazda RX7 fc S5

1992 Mazda Ẽfini RX-7 fd

2015 Mazda RX Concept
จุดเด่นของรถสปอร์ต Mazda ที่วางเครื่องยนต์โรตารีก็คือ เครื่องยนต์สูบหมุนที่ทรงพลัง มีขนาดเล็ก น้ำหนักเบา ให้แรงม้าและแรงบิดอย่างล้นเหลือ แต่มันได้เดินทางมาจนถึงวาระสุดท้าย เนื่องจากเครื่องยนต์โรตารีไม่ผ่านเกณฑ์ค่ามาตรฐานการปล่อย C02 ซึ่งทำให้ต้องยุติการจำหน่ายในทวีปยุโรปไปตั้งแต่ปี 2010 ตามมาด้วยการยกเลิกสายการผลิตในประเทศญี่ปุ่น เป็นการปิดฉากที่น่าเศร้าของเครื่องยนต์แบบสูบหมุนที่ครั้งหนึ่งเคยได้รับความนิยมชมชอบสูงมาก แต่อีกไม่นานนับต่อจากนี้ เครื่องโรตารี่ในยุคใหม่ก็จะถือกำเนิดขึ้นมาเพื่อทดแทนเครื่องยนต์รุ่นเก่า ส่วนประสิทธิภาพของแรงบิดกับอัตราสิ้นเปลืองและการปล่อย Co2 นั้นคงต้องตามดูกันต่อไปว่าจะเจ๋งจริงหรือเปล่า.

อาคม รวมสุวรรณ
E-Mail chang.arcom@thairath.co.th
Facebook https://www.facebook.com/chang.arcom
https://www.facebook.com/ARCOM-CHANG-Thairath-Online-525369247505358/