BMW รุกตลาดรถหรูของไทยในช่วงต้นปี 2563 ด้วยการนำรถซีดานเล็ก New Series-3 รหัสตัวถัง G20 มาประกอบในประเทศเพื่อทำราคาสู้ 

BMW 320d M Sport ใหม่ (ประกอบภายในประเทศ) ราคา 2,549,000 บาท (พร้อมโปรแกรมบำรุงรักษา BSI Standard)

BMW 330e M Sport ใหม่ (ประกอบภายในประเทศ) ราคา 2,799,000 บาท (พร้อมโปรแกรมบำรุงรักษา BSI Standard)

...

BMW Thailand นำ BMW Series-3 G20 เจเนอเรชั่นที่ 7 เข้าสู่ประเทศไทยเมื่อช่วงกลางปีที่ผ่านมา การนำเข้ามาจากต่างประเทศทำให้ Series-3 รุ่นใหม่ ทั้ง 320d และ 330i มีค่าตัวค่อนข้างสูง จากอัตราภาษีนำเข้าที่เป็นตัวแปรทำให้ราคาของ G20 ทั้งสองเครื่องยนต์สูงจนไม่สามารถแข่งขันกับ Mercedes-Benz C-Class ซึ่งเป็นรถประกอบในประเทศที่มีราคาต่ำกว่าได้ การนำ Series-3 ทั้งรุ่นดีเซลและรุ่นเบนซินแบบปลั๊กอินไฮบริดเข้ามาประกอบในประเทศทำให้ราคาของ 320d และ 330e ถูกลงกว่าเดิมหลายแสนบาท เป็นการเพิ่มทางเลือกให้กับคนที่สนใจด้วยเครื่องยนต์สองรูปแบบที่มีสมรรถนะในด้านความประหยัดและพลังงานในด้านของแรงบิด 

...

...

BMW 320d M Sport และ BMW 330e M Sport รุ่นประกอบในประเทศ สืบทอดรูปโฉมที่ทันสมัยปราดเปรียวของรถยนต์ BMW ตระกูล Series-3 เส้นสายที่คมชัด กระจังหน้าไตคู่ขนาดใหญ่เชื่อมต่อกับไฟหน้า Full LED ดีไซน์ Hofmeister Kink ออกแบบส่วนหน้าของรถให้ดุดันมากกว่าเดิม กันชนหน้า M มีช่องรับอากาศขนาดใหญ่กับไฟตัดหมอก LED เสา C-pillar หรือเสาท้ายที่เรียวบาง ไฟท้ายดีไซน์ใหม่รูปทรง L แนวนอนสีหม่นแบบสามมิติ ท่อไอเสียแบบคู่ติดตั้งอยู่ในกันชนหลังของ M 

...

BMW 330e M Sport ซีดานพลังไฮบริดเครื่องยนต์เบนซิน 2 ลิตร เทอร์โบ บวกมอเตอร์ไฟฟ้าและแบตเตอรี่ใหม่ที่ช่วยเพิ่มประสิทธิภาพการวิ่งด้วยพลังงานไฟฟ้าไกลกว่าเดิม การยกระดับระบบขับเคลื่อนของ 330e ให้มีประสิทธิภาพมากยิ่งขึ้นด้วย XtraBoost ฟังก์ชั่นใหม่ที่จะเผยสมรรถนะสูงสุดของรถยนต์ปลั๊กอินไฮบริดจาก BMW ด้วยเครื่องยนต์เบนซิน 4 สูบ 2.0 ลิตร ปริมาตรกระบอกสูบ 1,998 ซีซี. ระบบอัดอากาศเทคโนโลยี TwinPower Turbo เสริมแรงบิดด้วยมอเตอร์ไฟฟ้า ให้กำลังสูงสุด 215 กิโลวัตต์ หรือ 292 แรงม้า เพิ่มการตอบสนองในด้านการเร่งความเร็วด้วยโหมด SPORT แค่เหยียบคันเร่งเพื่อกระตุ้นการทำงานของ XtraBoost ระบบเสริมพลังงานจะปลดปล่อยกำลังได้ 30 กิโลวัตต์ หรือ 40 แรงม้า ภายในเวลา10 วินาที ตัวเลขสมรรถนะของ BMW 330e M Sport มีอัตราเร่ง 0-100 กม./ชม. ใน 5.9 วินาที ความเร็วสูงสุด 230 กม./ชม.

โหมด HYBRID ใน 330e M Sport เร่งความเร็วด้วยมอเตอร์เพียวๆโดยไม่ต้องพึ่งพาเครื่องยนต์ได้ที่ 110 กม./ชม. มากกว่า 330e รุ่นก่อนหน้าถึง 30 กม./ชม. โหมด ELECTRIC ซึ่งเป็นโหมดการขับไร้มลพิษ เร่งความเร็วสูงสุดได้ถึง 140 กม./ชม. มากกว่า 330e รุ่นเดิมที่ทำได้ 120 กม./ชม.

330e M Sport รุ่นใหม่ประกอบในประเทศ มีการปรับปรุงระยะทางในการใช้พลังงานไฟฟ้ามากกว่ารุ่นก่อน 50 เปอร์เซ็นต์ โดยเพิ่มระยะทางขับขี่สูงสุดถึง 55-68 กิโลเมตร ลดการใช้อัตราการสิ้นเปลืองและการปล่อยมลพิษในโหมดขับขี่อื่น ๆ ได้มากกว่า 15 เปอร์เซ็นต์ เนื่องจากการขับเคลื่อนด้วยโหมดไฟฟ้าล้วนโดยไม่ติดเครื่องยนต์จะทำให้รถแล่นมาเงียบเกินไปและอาจก่อให้เกิดอุบัติเหตุกับคนเดินเท้า BMW จึงคิดค้นระบบสร้างเสียงจำลองเพื่อให้ผู้ใช้ทางเท้าได้ยิน ระบบสร้างเสียงดังกล่าวจะถูกเปิดใช้ในขณะที่ขับเคลื่อนด้วยโหมดไฟฟ้าเพื่อส่งเสียงเตือนผู้ใช้ทางเท้าผ่านระบบลำโพงติดตั้งภายนอก

ในส่วนของซีดานตราใบพัดรุ่นเครื่องยนต์ดีเซล BMW 320d M Sport ประกอบในประเทศ วางเครื่องยนต์ดีเซลแถวเรียงแบบ 4 กระบอกสูบ อัดอากาศด้วยเทคโนโลยี TwinPower Turbo ปริมาตรความจุกระบอกสูบ 2.0 ลิตร 1,995 ซีซี.มีกำลังสูงสุด 140 กิโลวัตต์ หรือ 190 แรงม้า ที่ 4,000 รอบต่อนาที แรงบิดสูงสุด 400 นิวตันเมตร ที่ 1,750 – 2,500 รอบต่อนาที ตัวเลขสมรรถนะ เร่งความเร็วจาก 0 ถึง 100 กิโลเมตรต่อชั่วโมงได้ภายใน 6.8 วินาที ความเร็วสูงสุด 240 กิโลเมตรต่อชั่วโมง 

อุปกรณ์ตกแต่ง M Sport ของ BMW Series-3 G20 รุ่นประกอบในประเทศทั้งสองรุ่นย่อยนี้ เสริมประสิทธิภาพในด้านอากาศพลศาสตร์ของตัวรถด้วยชุดแต่ง M Aerodynamics ทั้งด้านหน้า ด้านข้างและด้านหลัง กระจังหน้าทรงไตคู่อันเป็นเอกลักษณ์ของ BMW ถูกออกแบบเป็นพิเศษบริเวณซี่กระจังหน้าไตคู่สีดำเงาและขอบช่องดักอากาศแบบสี Chrome กันชนหน้า-หลัง กาบบันได ท่อระบายไอเสีย ล้ออัลลอย ช่วงล่าง ทั้งหมดเป็นอุปกรณ์ตกแต่งจาก M Sport

BMW 320d M Sport มีการยกระดับระบบรองรับสำหรับรุ่นประกอบในประเทศด้วยช่วงล่าง Adaptive M Suspension ส่วน BMW 330e M Sport มาพร้อมระบบพวงมาลัยไฟฟ้าแปรผันตามการหมุนและความเร็วแบบ Servotronic และคาลิเปอร์เบรกแบบ M Sport เพิ่มความเพลิดเพลินในการขับขี่ด้วยความสะดวกสบายและความหรูหราในห้องโดยสารที่ประกอบด้วยพวงมาลัยหนังแท้ M กาบบันไดและชุดแป้นวางเท้า เพดานหลังคาภายในสี Anthracite และอีกมากมาย

BMW 320d M SPORT ราคา 2,549,000 บาท
รายละเอียดด้านเทคนิค
เครื่องยนต์ เครื่องยนต์ดีเซล 4 สูบ เทคโนโลยี BMW TwinPower Turbo
ปริมาตรกระบอกสูบ 1,995 ซีซี.
กําลังสูงสุด 140 กิโลวัตต์ 190 แรงม้า ที่ 4,000 รอบต่อนาที
แรงบิดสูงสุด 400 นิวตันเมตร ที่ 1,750-2,500 รอบต่อนาที
ความเร็วสูงสุด 240 กิโลเมตร/ชั่วโมง
อัตราเร่ง 0 - 100 กิโลเมตร/ชั่วโมง 6.8 วินาที
อัตราสิ้นเปลืองน้ํามันเชื้อเพลิงเฉลี่ย - อ้างอิงผล ECO Sticker 22.7 กิโลเมตร/ลิตร
ระดับการปล่อย CO2 เฉลี่ย 115 กรัม/กิโลเมตร
ล้อ ล้ออัลลอย M ขนาด 18 นิ้ว ลาย Double-spoke
ขนาดยาง 7.5 J x 18 / ยาง 225/45 R18
(ยาง Runflat)

มิติรถยนต์
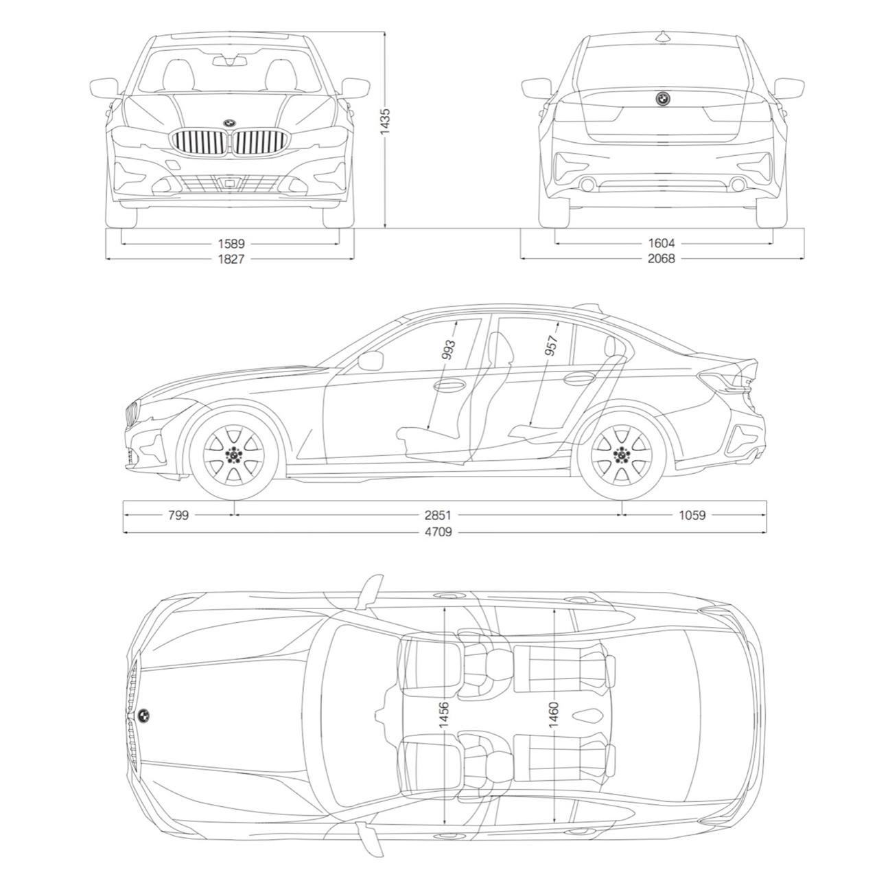
ยาว 4,709 มิลลิเมตร
กว้าง 1,827 มิลลิเมตร
สูง 1,435 มิลลิเมตร 
ปริมาตรในการบรรจุของ 480 ลิตร
น้ําหนักรถสุทธิ 1,530 กิโลกรัม

ระบบขับเคลื่อนและเทคโนโลยี
เกียร์อัตโนมัติ 8 จังหวะ แบบ Steptronic 
ช่วงล่าง M Sport 
พวงมาลัยไฟฟ้าแปรผันตามการหมุนและความเร็ว 
ระบบควบคุมความเร็วคงที่ พร้อมฟังก์ชันช่วยลดความเร็ว (Cruise Control with braking function) 
ระบบช่วยนํารถเข้าที่จอดอัตโนมัติ (Parking Assistant) 

อุปกรณ์ภายนอก
ระบบไฟหน้าแบบ LED พร้อมฟังก์ชันส่องสว่างขณะเลี้ยวโค้ง 
ไฟตัดหมอกแบบ LED 
ระบบเปิด-ปิดบานประตูท้ายอัตโนมัติด้วยระบบไฟฟ้า 
ระบบปลดล็อกประตูอัจฉริยะ (Comfort Access System) 
ชุดตกแต่ง M Aerodynamics 
ภายนอกตกแต่งด้วยวัสดุสีดํา เงา 


อุปกรณ์ภายใน
กระจกมองข้างและกระจกมองหลังตัดแสงอัตโนมัติ 
เบาะนั่งปรับไฟฟ้าพร้อมระบบจําตําแหน่งเฉพาะฝั่งคนขับ 
เบาะนั่งตอนหน้าดีไซน์ Sport 
พวงมาลัยหุ้มหนังดีไซน์ M Sport 
ชุดไฟส่องสว่างภายในและภายนอกห้องโดยสาร (Ambient Light) 
เพดานหลังคาภายในสี Anthracite 
ภายในตกแต่งด้วยอะลูมิเนียมลาย 'Mesheffect' 
ระบบปรับอากาศอัตโนมัติ 
ฟังก์ชันช่วยการจัดเก็บสัมภาระ 
ระบบความบันเทิงและการสื่อสาร
BMW Live Cockpit Professional 
ระบบ BMW ConnectedDrive 
ระบบเครื่องเสียง HiFi loudspeaker 


ความปลอดภัย
ถุงลมนิรภัยสําหรับคนขับและผู้โดยสารตอนหน้า 
ถุงลมนิรภัยด้านข้างสําหรับคนขับและผู้โดยสารตอนหน้า 
ถุงลมนิรภัยศีรษะสําหรับผู้โดยสารตอนหน้าและหลัง (ยกเว้นผู้โดยสารตอนหลังกลาง) 
ระบบ Teleservices 
ปุ่มโทรออกฉุกเฉิน (Intelligent Emergency Call) 
ระบบควบคุมเสถียรภาพการขับขี่ (DSC) 
ระบบควบคุมการยึดเกาะถนน (DTC) 
ระบบควบคุมแรงดันเบรกแบบแปรผัน (DBC) 

ความปลอดภัย
ระบบป้องกันล้อล็อกขณะเบรก (ABS) 
ระบบช่วยเสริมแรงเบรกอัตโนมัติ (Brake Assist) 
ระบบควบคุมการกระจายแรงเบรกขณะเข้าโค้ง (CBC) 
เซนเซอร์ควบคุมระบบความปลอดภัยเมื่อเกิดการชน (Crash Sensor) 
ระบบป้องกันการกระแทกจากด้านข้าง (Side Impact Protection) 
เซนเซอร์ควบคุมระยะการจอดด้านหน้าและหลัง 
กล้องแสดงภาพด้านหลัง

BMW 330e M SPORT ราคา 2,799,000 บาท
รายละเอียดด้านเทคนิค
เครื่องยนต์เบนซิน 4 สูบ เทคโนโลยี BMW TwinPower Turbo
ปริมาตรกระบอกสูบ 1,998 ซีซี.
กําลังสูงสุด 135 กิโลวัตต์ 184 แรงม้า ที่ 5,000*6,000 รอบต่อนาที แรงบิดสูงสุด 300 นิวตันเมตร ที่ 1,350-4,000 รอบต่อนาที กําลังมอเตอร์ไฟฟ้าสูงสุด 83 กิโลวัตต์ 113 แรงม้า
แรงบิดมอเตอร์ไฟฟ้าสูงสุด 265 นิวตันเมตร
กําลังรวมสูงสุด 215 กิโลวัตต์ 292 แรงม้า
แรงบิดรวมสูงสุด 420 นิวตันเมตร
ความเร็วสูงสุด 230 กิโลเมตร/ชั่วโมง

ความเร็วสูงสุดจากระบบไฟฟ้า 140 กิโลเมตร/ชั่วโมง
อัตราเร่ง 0 - 100 กิโลเมตร/ชั่วโมง 5.9 วินาที
อัตราสิ้นเปลืองน้ํามันเชื้อเพลิงเฉลี่ย - อ้างอิงผล ECO Sticker 47.6 กิโลเมตร/ลิตร
ระดับการปล่อย CO2 เฉลี่ย 48 กรัม/กิโลเมตร
ล้อล้ออัลลอย M ขนาด 19 นิ้ว ลาย Double-spoke
ขนาดยาง ล้อหน้า: 8J × 19 / ยาง 225/40 R19
ล้อหลัง: 8.5J × 19 / ยาง 255/35 R19
(ยาง Runflat)

มิติรถยนต์
ยาว 4,709 มิลลิเมตร 
กว้าง 1,827 มิลลิเมตร
สูง 1,444 มิลลิเมตร
ปริมาตรในการบรรจุของ 375 ลิตร
น้ําหนักรถสุทธิ  1,740 กิโลกรัม

ระบบขับเคลื่อนและเทคโนโลยี
เกียร์อัตโนมัติ 8 จังหวะ แบบ Sport Steptronic 
ช่วงล่าง Adaptive M Suspension
พวงมาลัยไฟฟ้าแปรผันตามการหมุนและความเร็ว 
ระบบควบคุมความเร็วคงที่ พร้อมฟังก์ชั่นช่วยลดความเร็ว (Cruise Control with braking function) 
ระบบช่วยการขับขี่ (Driving Assistant) 
ระบบ BMW Head-up Display 
ระบบช่วยนํารถเข้าที่จอดอัตโนมัติ รุ่น Plus (Parking Assistant Plus) 

อุปกรณ์ภายนอก
ระบบไฟหน้าแบบ LED พร้อมฟังก์ชันส่องสว่างขณะเลี้ยวโค้ง 
ไฟตัดหมอกแบบ LED 
คาลิเปอร์เบรกดีไซน์ M Sport 
ระบบเปิด-ปิดบานประตูท้ายอัตโนมัติด้วยระบบไฟฟ้า 
ระบบปลดล็อกประตูอัจฉริยะ (Comfort Access System) 
หลังคากระจกเปิด-ปิดด้วยระบบไฟฟ้า 
ชุดตกแต่ง M Aerodynamics 
ภายนอกตกแต่งด้วยวัสดุสีดํา เงา 

อุปกรณ์ภายใน
กระจกมองข้างและกระจกมองหลังตัดแสงอัตโนมัติ 
เบาะนั่งปรับไฟฟ้าพร้อมระบบจําตําแหน่งเฉพาะฝั่งคนขับ 
เบาะนั่งตอนหน้าดีไซน์ Sport 
ที่หนุนหลังปรับไฟฟ้าสําหรับเบาะนั่งตอนหน้า 
พวงมาลัยหุ้มหนังดีไซน์ M Sport 
คอนโซลด้านบนบุด้วยหนัง Sensatec 
ชุดไฟส่องสว่างภายในและภายนอกห้องโดยสาร (Ambient Light) 
เพดานหลังคาภายในสี Anthracite 
ภายในตกแต่งด้วยอะลูมิเนียมลาย Tetragon 
ระบบปรับอากาศอัตโนมัติ 
ฟังก์ชั่นช่วยการจัดเก็บสัมภาระ 

ระบบความบันเทิงและการสื่อสาร
BMW Live Cockpit Professional
ระบบ BMW ConnectedDrive
ฟังก์ชันสั่งงานระบบ iDrive ด้วยการเคลื่อนไหวมือ (BMW Gesture Control)
ระบบเครื่องเสียงรอบทิศทาง Harman Kardon
ระบบชาร์จโทรศัพท์แบบไร้สาย 


ความปลอดภัย
ถุงลมนิรภัยสําหรับคนขับและผู้โดยสารตอนหน้า 
ถุงลมนิรภัยด้านข้างสําหรับคนขับและผู้โดยสารตอนหน้า 
ถุงลมนิรภัยศีรษะสําหรับผู้โดยสารตอนหน้าและหลัง (ยกเว้นผู้โดยสารตอนหลังกลาง) 
ระบบ Teleservices 
ปุ่มโทรออกฉุกเฉิน (Intelligent Emergency Call) 
ระบบควบคุมเสถียรภาพการขับขี่ (DSC) 
ระบบควบคุมการยึดเกาะถนน (DTC) 
ระบบควบคุมแรงดันเบรกแบบแปรผัน (DBC) 
ระบบป้องกันล้อล็อกขณะเบรก (ABS) 
ระบบช่วยเสริมแรงเบรกอัตโนมัติ (Brake Assist) 
ระบบควบคุมการกระจายแรงเบรกขณะเข้าโค้ง (CBC) 
เซนเซอร์ควบคุมระบบความปลอดภัยเมื่อเกิดการชน (Crash Sensor) 
ระบบป้องกันการกระแทกจากด้านข้าง (Side Impact Protection) 
กล้องแสดงภาพรอบทิศทาง (Surround View Camera)




อาคม รวมสุวรรณ
E-Mail chang.arcom@thairath.co.th
Facebook https://www.facebook.com/chang.arcom
https://www.facebook.com/ARCOM-CHANG-Thairath-Online-525369247505358/